BT HWE100S Operator Manual 239053-040
$20.00
- Type Of Manual: Operator Manual
- Manual ID: 239053-040
- : Operator Manual PDF
- Number of Pages: 58
- Size: 5.0MB
- Format: PDF
Category: BT Operator Manual PDF
-
Model List:
- HWE100S
- 1. Return To HomePage
- 2. Safety regulations
- 2.1. Warning symbols
- 2.2. General safety regulations
- 3. Warning and information plates and symbols
- 4. Presentation of the truck
- 4.1. Intended application of the truck
- 4.2. Prohibited application of the truck
- 4.3. Truck data
- 4.4. Truck dimensions
- 4.5. Identification plate
- 4.6. Capacity plate
- 4.7. Modification plate
- 5. Main components
- 6. Controls and instruments
- 7. Accessories
- 8. Driving
- 8.1. Starting the truck
- 8.2. Braking
- 8.3. Travel speed reduction
- 8.4. Steering
- 8.5. Parking the truck
- 9. Transporting loads
- 9.1. Collecting a load
- 9.2. Depositing a load
- 10. Battery
- 10.1. Replacing the battery
- 10.2. Charging the battery
- 11. Daily service and function checks
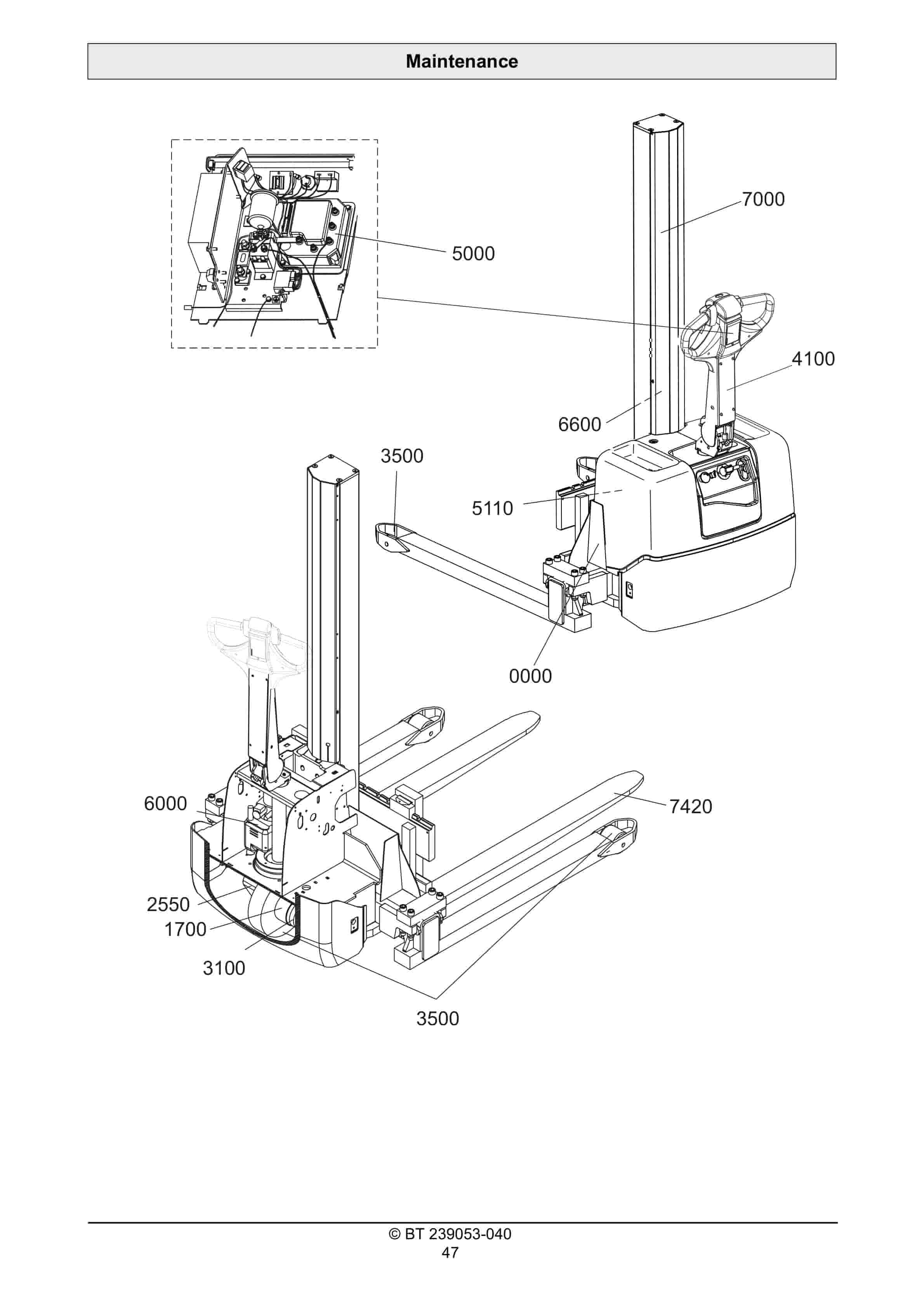
- 12. Maintenance
- 12.1. Cleaning and washing
- 12.2. Maintenance chart
- 12.3. Lubrication chart
- 12.4. Oil and grease specification
- 13. Transporting and storing the truck
- 13.1. The trucks dimensions and weight as standard
- 13.2. Lifting the truck
- 13.3. Towing and transporting a defective truck
- 13.4. Storing the truck
- 13.5. Starting after a period of disuse
- 14. Recycling/discarding
- 14.1. Discarding the battery
- 14.2. Scrapping the truck
Rate this product
You may also like
BT Operator Manual PDF
BT CSX Electric Counter Balanced Stacker Truck Operator Manual 304953-000
$20.00
BT Operator Manual PDF
BT HT60W Warehouser Electric Low Lift Truck Operator Manual 300406-000
$20.00














