BT IXION S 12S Operator Manual 183431-040
$20.00
- Type Of Manual: Operator Manual
- Manual ID: 183431-040
- : Operator Manual PDF
- Number of Pages: 62
- Size: 5.3MB
- Format: PDF
Category: BT Operator Manual PDF
-
Model List:
- IXION S 12S
- 1. Return To HomePage
- 2. BT IXION S 12S
- 2.1. Valid from serial number 425801AA-
- 2.2. Order number 183431-040
- 2.2.1. Issued 2002-01-23 ITS
- 2.2.1.1. It is important that you read this Operators Manual for your own safety
- 3. Safety regulations
- 3.1. Warning symbols
- 3.1.1. Warning levels
- 3.1.1.1. DANGER
- 3.1.1.2. WARNING
- 3.1.1.3. CAUTION
- 3.1.2. Prohibitory symbols
- 3.1.2.1. NO SMOKING
- 3.1.2.2. NAKED FLAMES PROHIBITED
- 3.1.2.3. GENERAL PROHIBITION
- 3.1.3. Ordinance symbols
- 3.1.3.1. SAFETY SHOES
- 3.1.3.2. PROTECTIVE GLASSES
- 3.2. General safety regulations
- 3.2.1. Operating the truck
- 3.2.2. Operators responsibility
- 3.2.3. Working area
- 3.2.4. Driving and conduct while driving
- 3.2.5. Handling loads
- 3.2.6. Parking the truck
- 3.2.7. Handling the battery
- 3.2.8. Maintenance and repair
- 4. Warning and information plates and symbols
- 4.1. Hydraulic control Lifting/Lowering
- 4.2. Travel direction
- 4.3. Signal/Horn
- 4.4. Capacity plate
- 4.5. Identification plate, A CE, B ASME, depending on market
- 4.6. Hydraulic control Lower
- 4.7. Serial number
- 4.8. Hydraulic oil filling
- 4.9. Maximum height for rated capacity
- 4.10. Do not walk under elevated load
- 4.11. Lifting points
- 4.12. Modification plate
- 5. Presentation of the truck
- 5.1. Intended application of the truck
- 5.2. Forbidden application of the truck
- 5.3. Truck data
- 5.3.1. Truck type
- 5.4. Truck dimensions
- 5.5. Identification plate
- 5.6. Modification plate
- 6. Main components
- 6.1. Tiller arm The truck is manoeuvred by the driver while walking. 204 degree steering area. The…
- 6.2. Identification plate With model designation, serial number, year of manufacture, weight witho…
- 6.3. Covers Removable which provides good accessibility when servicing.
- 6.4. Emergency switch off
- 6.5. Hydraulic control For controlling lifting and lowering functions.
- 6.6. Hydraulic unit Pump motor, pump and oil tank are integrated in a compact unit.
- 6.7. Hydraulic valves The valves are located to provide easy access.
- 6.8. Drive unit with brake Fixed drive unit with spring-loaded mechanical brake, travel motor, gea…
- 6.9. Serial number The serial number plate fitted to the chassis.
- 6.10. Electric panel Removable, which provides good access when servicing. 24 volt electrical supp…
- 6.11. Support castor wheels Two support castor wheels to ensure stability.
- 6.12. Battery 24V with different Ah values. The battery is automatically locked in the battery com…
- 6.13. Emergency disconnector and battery connector The battery is charged via the permanently fitt…
- 6.14. Mast Fitted with a finger guard to cover the drivers normal reach.
- 6.15. Support arms
- 7. Controls and instruments
- 7.1. Control for lifting and lowering the forks
- 7.2. Travel direction selector and speed control
- 7.3. Switch for safety reversing
- 7.4. Horn
- 7.5. Display
- 7.6. Tiller arm and brake
- 7.7. Control for lowering the forks
- 7.8. Emergency switch off
- 7.9. Key switch
- 7.10. Emergency disconnector and battery connector
- 7.11. Turtle button (Option)
- 7.12. Keyboard (Option)
- 7.13. Control for lifting and lowering the forks (1)
- 7.14. Travel direction selector and speed control (2)
- 7.15. Switch for safety reversing (3)
- 7.16. Horn (4)
- 7.17. Display (5)
- 7.17.1. Numerical field (A)
- 7.17.2. Hour meter indicator (B)
- 7.17.3. Parameter control (C)
- 7.17.4. Battery indicator (D)
- 7.17.5. Error indicator (E)
- 7.18. Function
- 7.19. Tiller arm and brake (6)
- 7.20. Control for lowering the forks (7)
- 7.21. Emergency switch off (8)
- 7.22. Key switch (9)
- 7.23. Emergency disconnector and battery connector (10)
- 7.24. Turtle button (11) (Option)
- 7.25. Keyboard (12) (Option)
- 7.26. Display and programming
- 7.26.1. Display
- 7.26.2. Programming
- 7.26.2.1. Truck with key
- 7.26.2.2. Truck with keyboard
- 7.26.3. Parameters
- 7.26.3.1. Parameter type
- 7.26.3.2. Min./ Max.
- 7.26.3.3. Std. value
- 7.27. Warning codes
- 7.27.1. WARNING
- 7.27.2. Code No.
- 7.27.3. Error type
- 7.27.4. Probable cause
- 7.28. Error codes
- 7.28.1. Code No
- 7.28.2. Error type
- 7.28.3. Probable cause
- 8. Accessories
- 8.1. Platform
- 8.2. Load support
- 8.3. Integrated charger
- 8.4. Turtle button
- 9. Driving
- 9.1. Starting the truck
- 9.1.1. WARNING
- 9.1.2. WARNING
- 9.2. Braking
- 9.3. Deceleration
- 9.4. Steering
- 9.4.1. WARNING
- 9.5. Parking the truck
- 9.5.1. WARNING
- 10. Transporting loads
- 10.1. WARNING
- 10.2. WARNING
- 10.3. WARNING
- 10.4. WARNING
- 10.5. WARNING
- 10.6. WARNING
- 10.7. WARNING
- 10.8. Collecting a load
- 10.9. Depositing a load
- 10.10. Lift height limiting ASME
- 10.10.1. CAUTION
- 11. Battery
- 11.1. Changing the battery
- 11.1.1. WARNING
- 11.1.2. Proceed as follows to remove the discharged battery
- 11.1.2.1. WARNING
- 11.1.3. Proceed as follows when replacing a charged battery
- 11.2. Charging the battery
- 11.2.1. GENERAL PROHIBITION
- 11.2.2. Battery (Ah)
- 11.2.3. Charger (A)
- 11.2.3.1. WARNING
- 11.2.4. Before charging
- 11.2.4.1. WARNING
- 11.2.5. During charging
- 11.2.6. After charging
- 11.2.6.1. CAUTION
- 11.3. Battery maintenance
- 11.3.1. WARNING
- 11.3.2. Each week
- 11.3.3. Each month
- 11.3.3.1. Temperature C
- 11.3.3.2. Density g/cm3
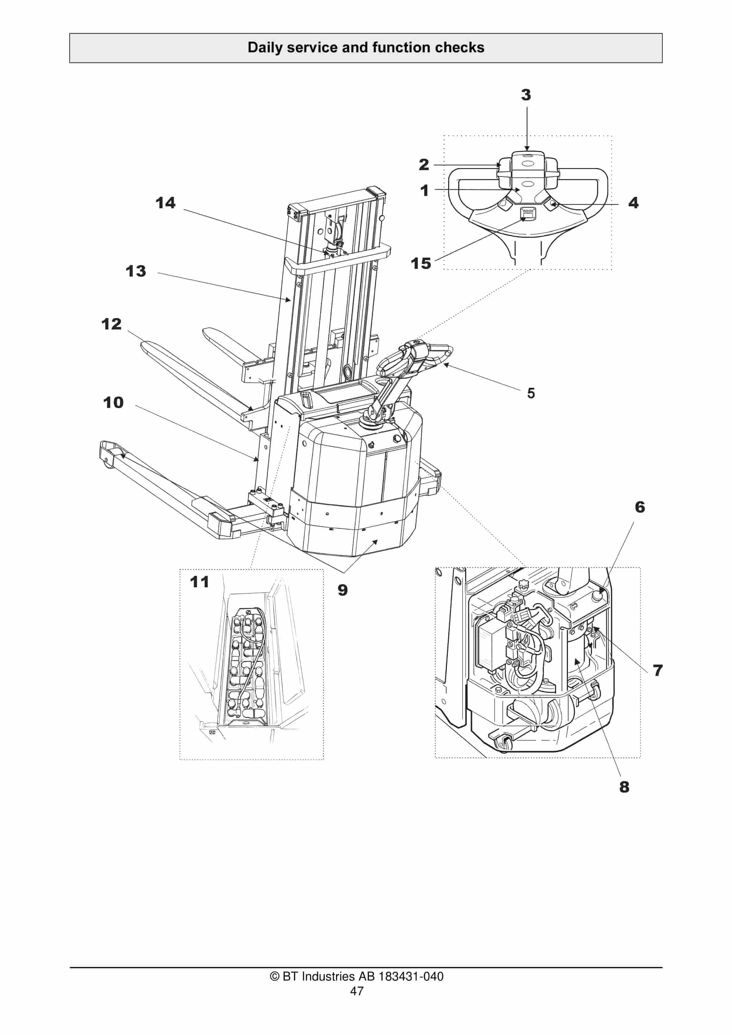
- 12. Daily service and function checks
- 12.1. WARNING
- 12.2. Check points
- 13. Maintenance
- 13.1. Safety regulations with maintenance work
- 13.1.1. WARNING
- 13.1.2. WARNING
- 13.1.3. WARNING
- 13.1.4. WARNING
- 13.1.5. CAUTION
- 13.1.6. WARNING
- 13.2. Maintenance work that is to be carried out by the operator
- 13.3. Maintenance work that may be carried out by trained maintenance personnel
- 13.4. Cleaning and washing
- 13.4.1. External cleaning
- 13.4.2. Cleaning the motor compartment
- 13.4.3. Electrical components
- 13.5. Maintenance chart
- 13.5.1. Pos. no.
- 13.5.2. Work to carry out
- 13.5.2.1. Interval in hours – may vary due to application
- 13.5.2.2. Interval in days/weeks/months – may vary due to application
- 13.6. Lubrication chart
- 13.6.1. Service point
- 13.6.2. Interval/Running hours
- 13.6.3. Lubricant
- 13.7. Oil and grease specification
- 13.7.1. Lubricant
- 13.7.2. Specification
- 13.7.3. Application area
- 13.7.4. > – 15C
- 13.7.5. < – 15C
- 14. Transporting and storing the truck
- 14.1. The trucks dimensions and weight as standard
- 14.1.1. The trucks dimensions and weight
- 14.2. Lifting the truck
- 14.2.1. WARNING
- 14.2.2. WARNING
- 14.3. Towing and transporting a defective truck
- 14.3.1. WARNING
- 14.4. Storing the truck
- 14.4.1. Battery
- 14.4.2. Hydraulic system
- 14.4.3. Drive unit
- 14.5. Starting after a period of disuse
- 15. Recycling/discarding
- 15.1. Discarding the battery
- 15.2. Scrapping the truck
- 15.2.1. Chassis
- 15.2.2. Hydraulic system
- 15.2.3. Electrical system
Rate this product
You may also like
BT Operator Manual PDF
BT CSX Electric Counter Balanced Stacker Truck Operator Manual 304953-000
$20.00
BT Operator Manual PDF
BT CTX1300SEi, CTX1300SEi SF, CTX H, CTX H SF Operator Manual 214294-040
$20.00
BT Operator Manual PDF
BT CTX 1300 SFi, CTX 1300 SFi SF, CTX H, CTX H SF Operator Manual 180859-040
$20.00















