BT L2000, L2000Q, L2000X, L2000U, L2000K, L2000O, L2000I Quality Parts 149482
$30.00
- Type Of Manual: Quality Parts
- Manual ID: 149482
- : Parts Manual PDF
- Number of Pages: 86
- Size: 2.6MB
- Format: PDF
Category: BT Parts Manual PDF
-
Model List:
- BT L2000, BT L2000Q, BT L2000X, BT L2000U, BT L2000K, BT L2000O, BT L2000I
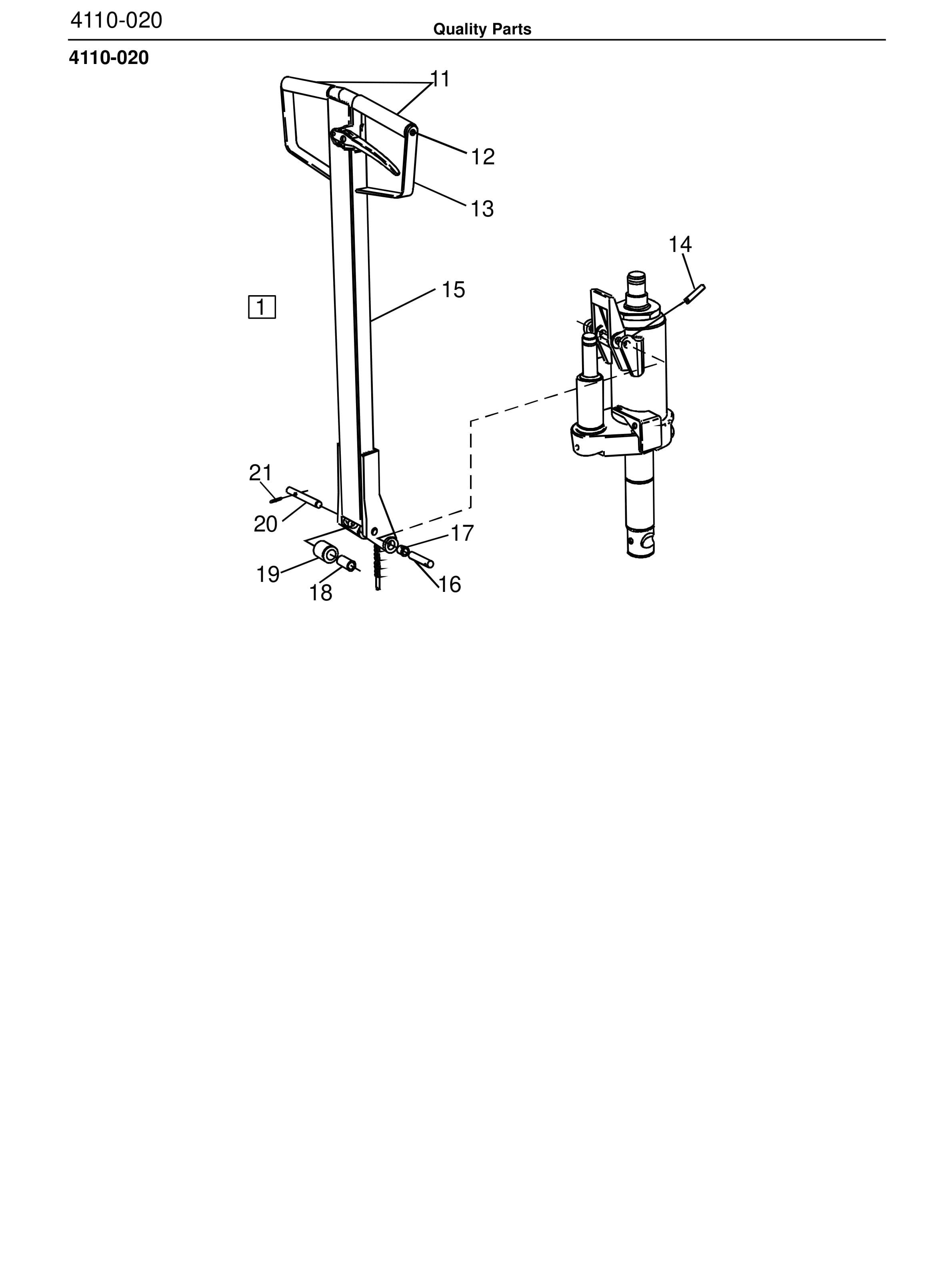
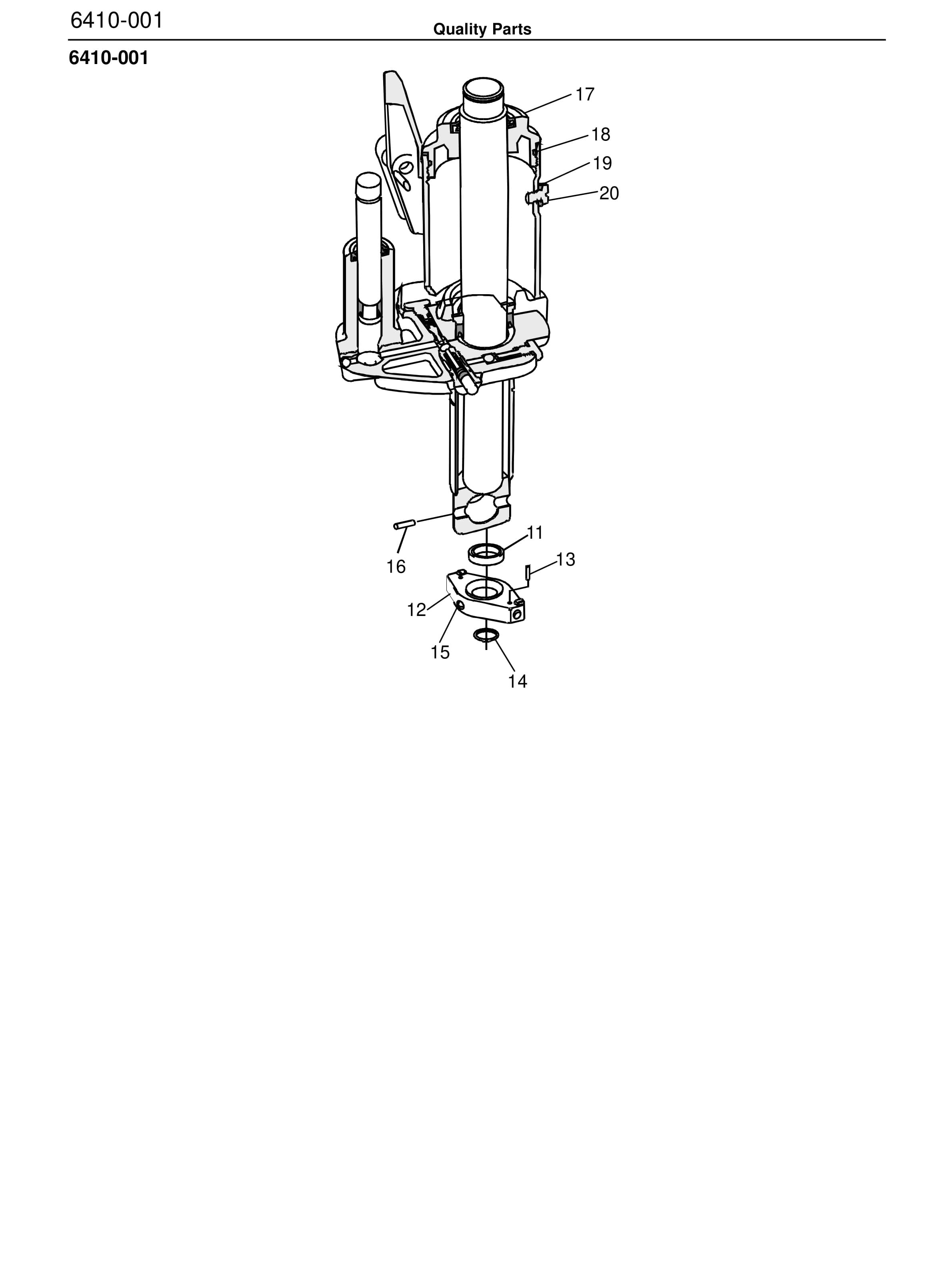
- 1. Chassis
- 1.1. Chassi Chassis Châssis
- 2. Brake/Wheel/Caterpillar system
- 2.1. Broms-/Hjul/Bandsystem Brems-/Rad-/Bandsystem Freins/Roues/ Chenilles
- 3. Steering system
- 3.1. Styrsystem Steuer-/Lenksystem Système de direction
- 4. Hydraulic/pneumatic system
- 4.1. Hydraulik/pneumatik Hydraulikanlage/Pneumatik Système hydraulique/pneumatique
Rate this product
You may also like
BT Parts Manual PDF
BT C3E150, C3E160, C3E160L, C3E180, C3E180L, C3E200 Spare Parts Catalog 0350202R3-0
$30.00
BT Parts Manual PDF
BT 602-TT, 608-TT, 609-TT, 610-TT, 612-TT, 620-TT Quality Parts 07904570EB
$30.00
BT Parts Manual PDF
BT 600-TT, 602-TT, 604-TT, 608-TT, 609-TT, 610-TT, 612-TT, 620-TT Quality Parts 208538
$30.00














