BT PE-40, PL-40 Electric Low Lift Truck Parts And Service Manual 310505-000
$30.00
- Type Of Manual: Parts And Service Manual
- Manual ID: 310505-000
- : Parts Manual PDF
- Number of Pages: 32
- Size: 2.7MB
- Format: PDF
Category: BT Parts Manual PDF
-
Model List:
- PE-40, PL-40 Electric Low Lift Truck
- 1. Front Cover
- 2. Prime-Mover Warranty
- 3. Contents
- 3.1. To New Prime-Mover Owners
- 4. Operating Instructions
- 4.1. Preliminary Service
- 4.2. Controls
- 4.2.1. Safety Interlock
- 4.2.2. Lift/Lower
- 4.2.3. Direction Control
- 4.2.4. Deadman Brake
- 4.2.5. Key Switch (Optional)
- 4.2.6. Horn (Optional)
- 4.2.7. Dynamic Brake (Optional)
- 4.3. Operator Maintenance
- 4.4. Battery Care
- 5. Maintenance Instructions
- 5.1. Battery
- 5.2. Power Wiring
- 5.3. Control Wiring
- 5.4. Control Switches (Handle)
- 5.5. Limit Switch Adjustment (Lift)
- 5.6. Mechanical Brake
- 5.7. Interlock Switch
- 5.8. Transmission Rollers
- 5.9. Contactor Points
- 5.10. Motor Commutator
- 5.11. Hydraulic System
- 6. Service Instructions
- 7. Parts Ordering Instructions
- 8. Parts List Index
- 9. Control Handle
- 10. Drive Motor and Transmission Mounting
- 11. Motor Service Parts
- 12. Transmission Assembly
- 13. Carrier Frame
- 14. Lift Frame and Linkage
- 15. Electrical Control Panel
- 16. Power Wiring
- 17. Hydraulic Piping Diagram
- 18. Hydraulic Cylinder Assembly
- 19. Hydraulic Pump Parts List
- 20. Motor Service Parts
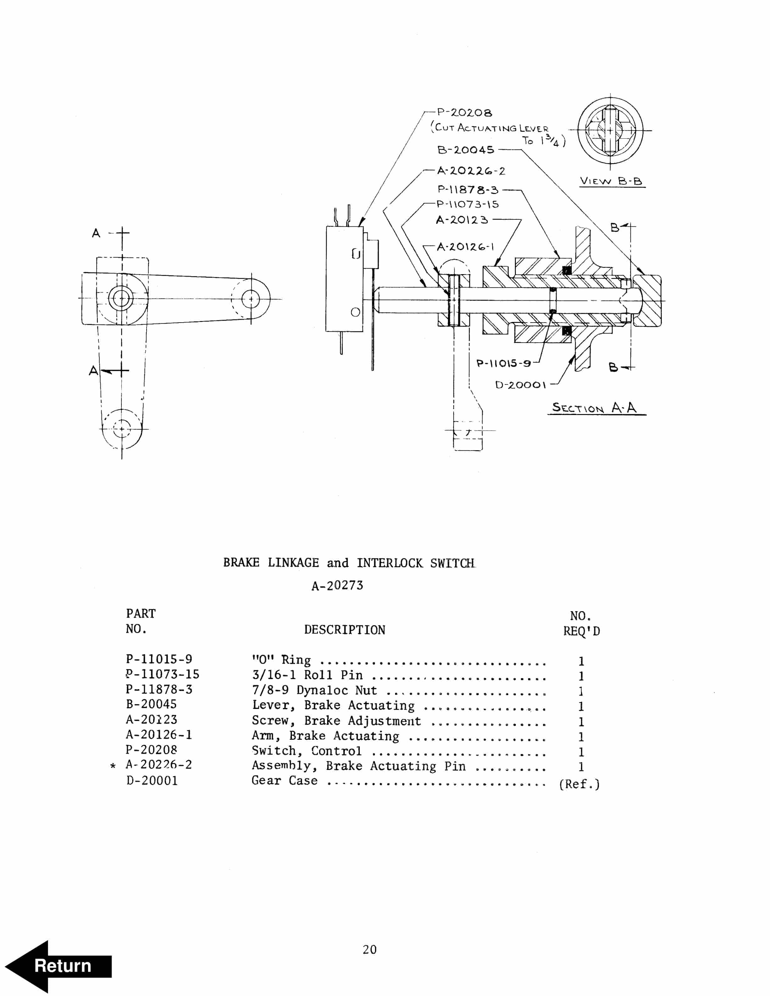
- 21. Brake Linkage and Interlock Switch
- 22. Control Wiring
- 23. Control Switch Installation
- 24. Lift Platform and Linkage
- 25. High Speed Rider
- 26. Skid Adapter
- 27. Wiring Diagram, Horn
- 28. Wiring Diagram, Dyn. Brake
- 29. Wiring Diagram, Hour Meter, and Key Switch (Optional)
- 30. Service Guide
Rate this product
You may also like
BT Parts Manual PDF
BT 602-TT, 608-TT, 609-TT, 610-TT, 612-TT, 620-TT (AC) Quality Parts 253711
$30.00
BT Parts Manual PDF
BT C3E150, C3E160, C3E160L, C3E180, C3E180L, C3E200 Spare Parts Catalog 0350202R3-0
$30.00
BT Parts Manual PDF
BT 602-TT, 608-TT, 609-TT, 610-TT, 612-TT, 620-TT Quality Parts 07904570EB
$30.00















