BT RC Series Trucks Operating – Maintenance – Parts Manual 301073-001
$30.00
- Type Of Manual: Operating – Maintenance – Parts Manual
- Manual ID: 301073-001
- : Parts Manual PDF
- Number of Pages: 56
- Size: 2.4MB
- Format: PDF
Category: BT Parts Manual PDF
-
Model List:
- RC-20, RC-25, RC-30, RC-40
- 1. Front Cover
- 2. Warranty
- 3. To New Prime-Mover Owners
- 4. Contents
- 5. Operating Instructions
- 5.1. Preliminary Service
- 5.2. Operation
- 5.3. Controls
- 5.3.1. Key Switch
- 5.3.2. Dead Man Brake
- 5.3.3. Direction Control
- 5.3.4. Lift Lower Control
- 5.3.5. Tilt Control
- 5.3.6. Auxiliary Hydraulic Control
- 6. Service References
- 7. Periodic Maintenance Chart
- 7.1. Annually
- 7.2. Monthly
- 7.3. Semi-Annually
- 8. Lubrication Chart
- 9. Maintenance Instructions
- 9.1. Battery
- 9.2. Electrical Wiring
- 9.3. Control Switches
- 9.4. Potentiometer
- 9.5. Deadman Brake
- 9.6. Interlock Switch
- 9.7. Steering Chain
- 9.8. Transmission Rollers
- 9.9. Contactor Points
- 9.10. Motor Commutator
- 9.11. Drive Gear Adjustments
- 9.12. Hydraulic System
- 9.13. Hydraulic Pump/Motor
- 9.14. Hydraulic Valve Switch
- 9.15. Lift Cylinder
- 9.16. Lift Chain
- 9.17. Tilt Cylinder
- 9.18. Articulating Plate
- 10. Service and Disassembly Instructions
- 10.1. Tilt Cylinder
- 10.2. Lift Cylinder
- 10.3. Floor Plate
- 10.4. Transmission Assembly
- 10.5. Articulating Plate
- 10.6. Support Wheel Steering Linkage
- 10.7. Drive Wheel
- 10.8. Drive Motor
- 10.9. Electrical Panels
- 10.10. Steering Gear Box
- 10.11. Lift Frame
- 10.12. Inner Column
- 10.13. Brake Discs
- 11. Parts Ordering Instructions
- 11.1. Field Modifications
- 12. Parts List Index
- 12.1. Main Frame, Shielding, Misc.
- 12.2. Drive Mounting
- 12.3. Volt Transmission
- 12.4. Drive Motor Service Parts
- 12.5. Steering Linkage
- 12.6. Steering Assembly
- 12.7. Steering Reduction
- 12.8. Hydraulic Piping RC-20, 25, 30 (Single Pump)
- 12.9. Hydraulic Piping RC-30 (Dual) and RC-40
- 12.10. Hydraulic Valve (2 3 Spool)
- 12.11. Hydraulic Valve Mounting, Reservoir Mounting, Motor Mounting
- 12.12. Hydraulic Pump
- 12.13. Motor for P-25428 Pump/Motor Assembly
- 12.14. Tilt Cylinder Assembly
- 12.15. Lift Cylinder
- 12.16. Lift Cylinder Assembly
- 12.17. Mast – 2 Stage
- 12.18. Knickerbocker Trirol 3 Mast
- 12.19. White Masts
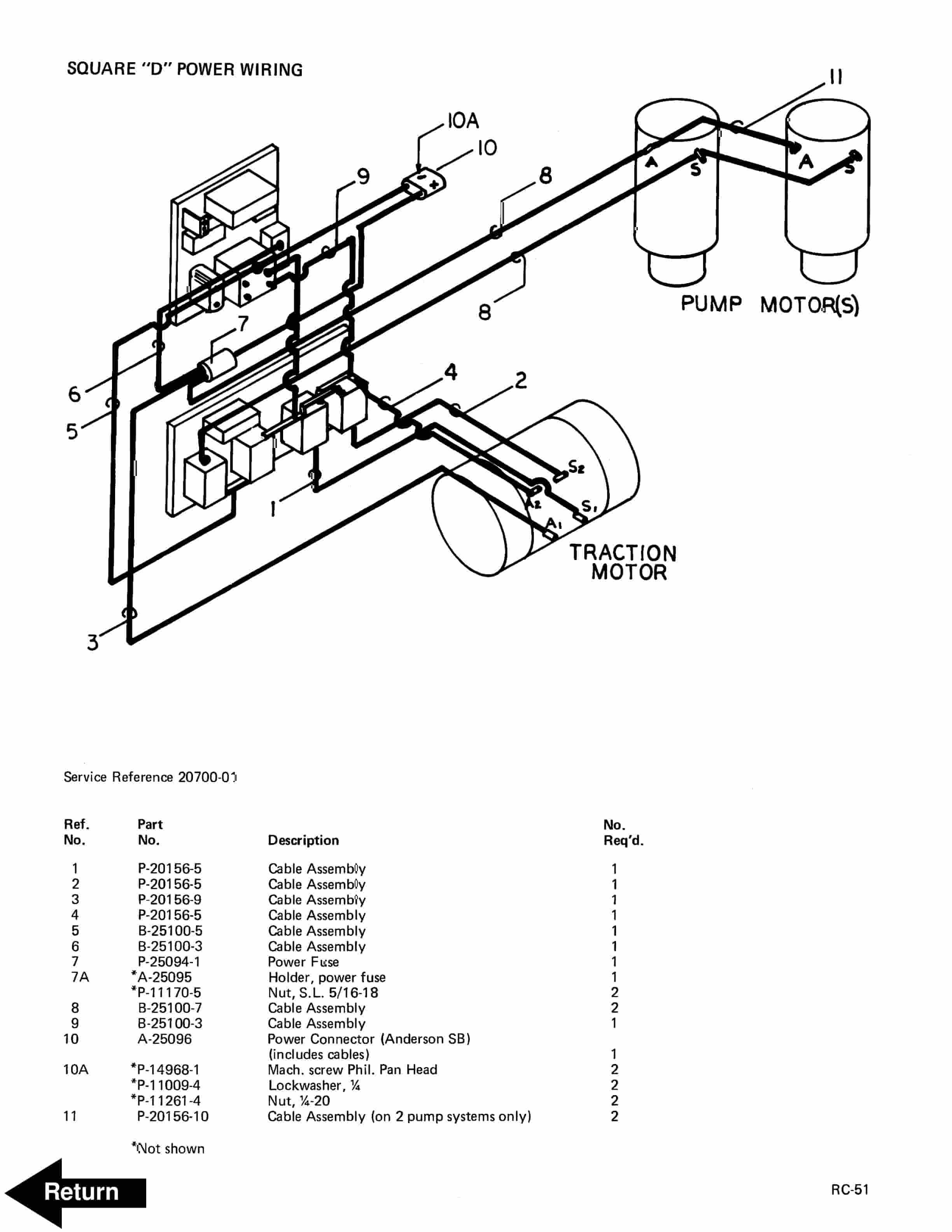
- 12.20. Square D Power Wiring
- 12.21. Control Wiring for G.E. System
- 12.22. Auxiliary Hydraulic Valve Parts Breakdown
- 12.23. Brudi Sideshifter
- 12.24. Hydraulic Cylinder for Brudi Sideshifter
- 12.25. Brudi Hose Reel Assembly
- 12.26. Brudi Hose Reel
- 12.27. Cascade Hose Reel Assembly (for 3 Stage Masts)
- 12.28. Outboard Spring Style Hose Reels
- 12.29. Inboard Spring Style Hose Reels
- 13. Service Guide
- 14. Back Cover
Rate this product
You may also like














