BT RS Series Trucks Operating – Maintenance – Parts Manual 310083-000
$30.00
- Type Of Manual: Operating – Maintenance – Parts Manual
- Manual ID: 310083-000
- : Parts Manual PDF
- Number of Pages: 68
- Size: 3.4MB
- Format: PDF
Category: BT Parts Manual PDF
-
Model List:
- RS-20, RS-30, RS-40
- 1. Front Cover
- 2. Warranty
- 3. New Owners
- 4. Contents
- 5. Operating Instructions
- 6. Maintenance Chart
- 7. Lubrication Chart
- 8. Maintenance Instructions
- 9. Service and Disassembly Instructions
- 10. Parts Ordering Instructions
- 11. Parts List Index
- 11.1. Main Frame, Shielding, Misc.
- 11.2. Drive Mounting
- 11.3. Volt Transmission
- 11.4. Drive Motor Parts for D-25901
- 11.5. Brake Linkage
- 11.6. Steering Linkage
- 11.7. Steering Assembly
- 11.8. Steering Reduction
- 11.9. Single Pump Hydraulic Piping
- 11.10. Dual Pump Hydraulic Piping
- 11.11. Hydraulic Valve
- 11.12. Hydraulic Valve Mounting, Reservoir Mounting, Motor Mounting
- 11.13. Hydraulic Pump
- 11.14. Pump Motor Assembly for P-25428
- 11.15. Tilt Cylinder Assembly
- 11.16. Adjusting Linkage
- 11.17. Lift Cylinder – White 3 Stage
- 11.18. Lift Cylinder Assembly – Prime-Mover
- 11.19. Stage Mast – Prime-Mover
- 11.20. Stage Mast – Knickerbocker
- 11.21. Stage Mast – White
- 11.22. Electrical Schematic
- 11.23. Square D Electrical Schematic
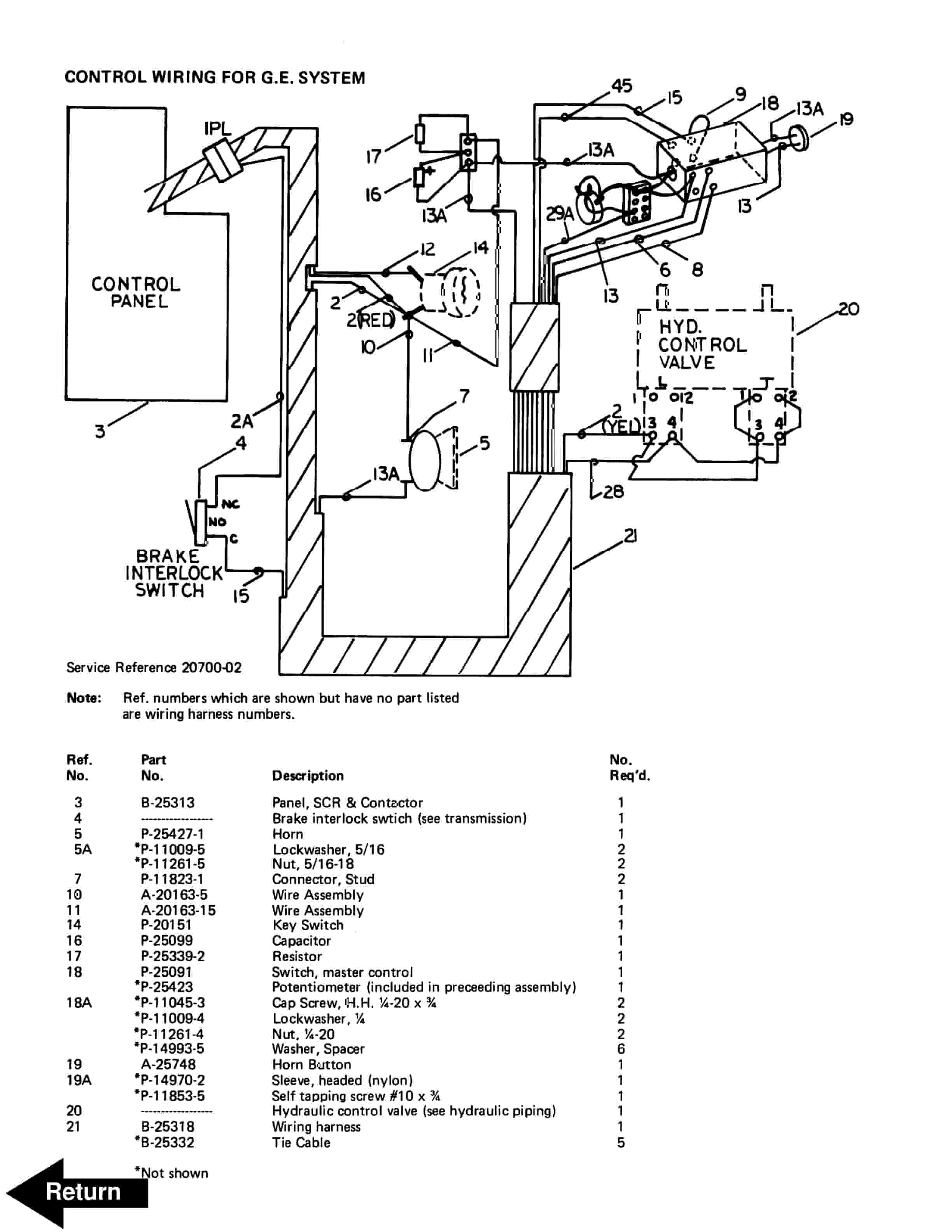
- 11.24. Power Wiring G.E. System
- 11.25. Power Wiring Square D
- 11.26. Control Wiring G.E. System
- 11.27. Control Wiring Square D System
- 11.28. Control Panel G.E. Electrical
- 11.29. Control Panel Square D SCR
- 11.30. Contactor Panel Square D System
- 11.31. Control Handle
- 11.32. Hour Meter
- 11.33. Auxiliary Hydraulic Valve
- 11.34. Brudi Side Shifter
- 11.35. Hydraulic Cylinder for Brudi Side Shifter
- 11.36. Brudi Hose Reel – Prime-Mover Masts
- 11.37. Brudi Hose Reel
- 11.38. Cascade Hose Reel Assembly for 3 Stage Masts
- 11.39. Spring Style Hose Reel
- 12. Service Guide
- 13. Back Cover
Rate this product
You may also like
BT Parts Manual PDF
BT 600-TT, 602-TT, 608-TT, 609-TT, 610-TT, 612-TT, 620-TT (AC) Quality Parts 212162
$30.00
BT Parts Manual PDF
BT 600-TT, 602-TT, 604-TT, 608-TT, 609-TT, 610-TT, 612-TT, 620-TT Quality Parts 208538
$30.00















