Caterpillar DP160NE Parts Manual PCMEG-J08A6-22
$50.00
- Type Of Manual: Parts Manual
- Book Number: PCMEG-J08A6-22
- Information: CAT MAST
- Number of Pages: 68
- Size: 15.9MB
- Format: PDF
Category: Caterpillar Part Manual PDF
-
Model List:
- DP160NE
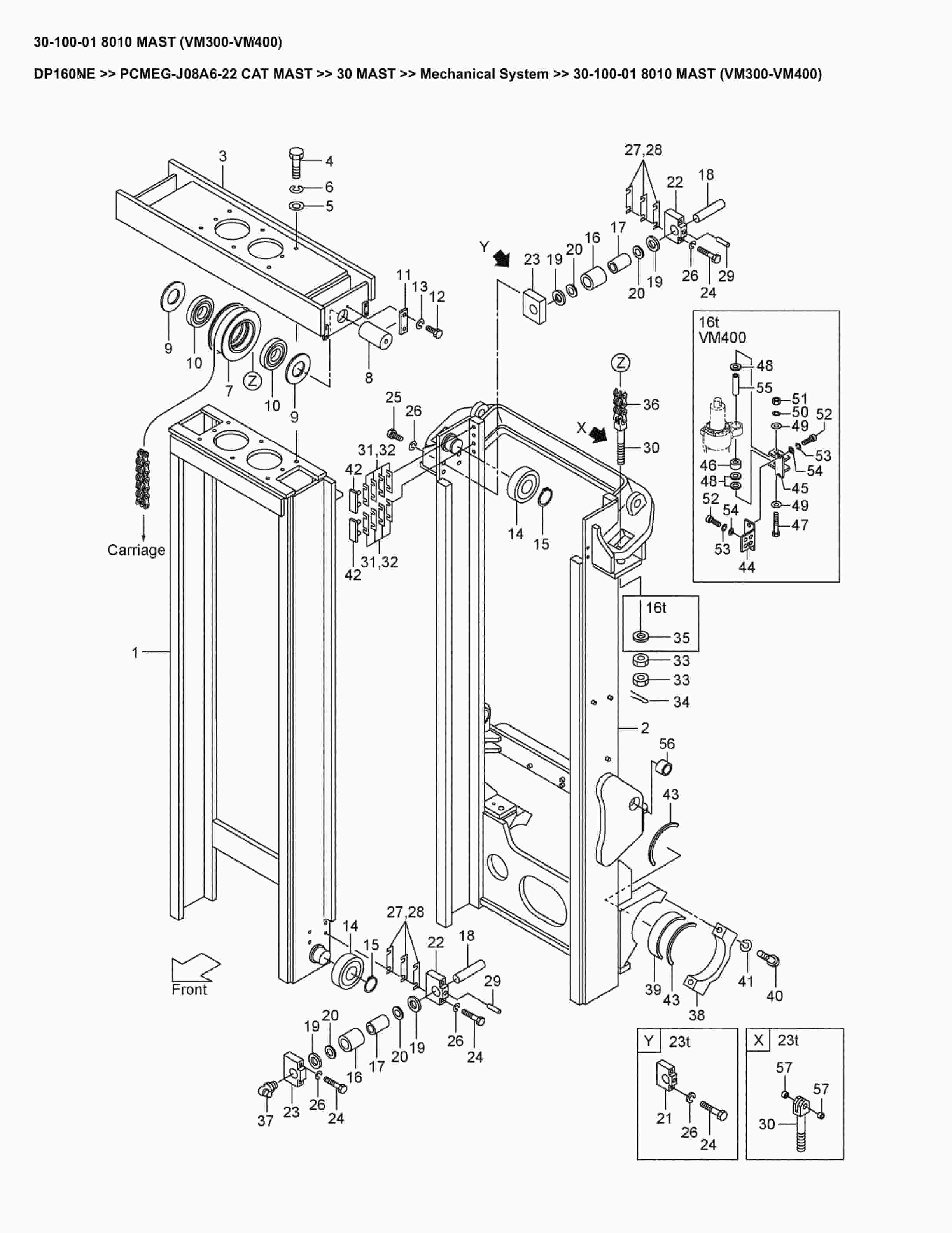
- 1. _30-100-01 8010 MAST (VM300-VM400) Spare Parts Catalog.pdf
- 2. _30-100-02 8020 MAST (VM450-VM600) Spare Parts Catalog.pdf
- 3. _30-100-03 8110 FORK CARRIAGE (16t,18t,20t) Spare Parts Catalog.pdf
- 4. _30-100-04 8120 FORK CARRIAGE (23t) Spare Parts Catalog.pdf
- 5. _30-300-01 8431 LIFT CYLINDER (VM300-VM400) (16t) Spare Parts Catalog.pdf
- 6. _30-300-02 8461 LIFT CYLINDER (VM450-VM600) (16t) Spare Parts Catalog.pdf
- 7. _30-300-03 8451 LIFT CYLINDER (VM300-VM400) (23t) Spare Parts Catalog.pdf
- 8. _30-300-04 8491 LIFT CYLINDER (VM450, VM500) (23t) Spare Parts Catalog.pdf
- 9. _30-300-05 84B0 LIFT CYLINDER (VM550, VM600) (23t) Spare Parts Catalog.pdf
- 10. _30-300-06 8410 LIFT CYLINDER PIPING (VM300-VM400) Spare Parts Catalog.pdf
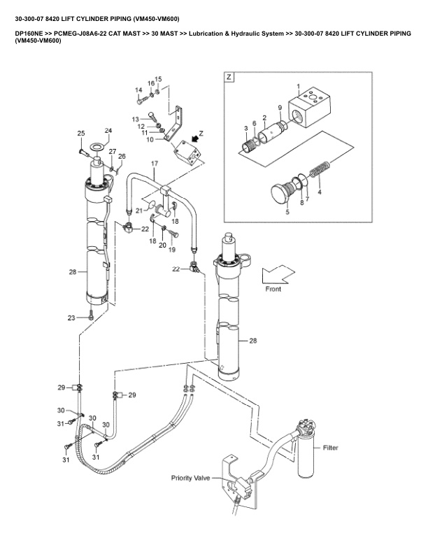
- 11. _30-300-07 8420 LIFT CYLINDER PIPING (VM450-VM600) Spare Parts Catalog.pdf
- 12. _30-300-08 9310 GREASE PIPING (VM300-VM400) Spare Parts Catalog.pdf
- 13. _30-300-09 9320 GREASE PIPING (VM450-VM600) Spare Parts Catalog.pdf
Rate this product
You may also like















