Caterpillar EP18TCBJ Parts Manual 12-P-2201-C-J
$50.00
- Type Of Manual: Parts Manual
- Book Number: 12-P-2201-C-J
- Information: CAT Counterbalanced Truck
- Number of Pages: 603
- Size: 124.4MB
- Format: PDF
Category: Caterpillar Part Manual PDF
-
Model List:
- EP18TCBJ
- 1. _01-01-01 10100 FRAME Spare Parts Catalog.pdf
- 2. _01-01-02 10110 COVER Spare Parts Catalog.pdf
- 3. _01-01-03 10111 PANEL Spare Parts Catalog.pdf
- 4. _01-01-04 10112 PAD FLOOR PLATE Spare Parts Catalog.pdf
- 5. _01-01-05 10113A BATTERY COVER 15P_350_390Ah,16P_18P_350-565Ah Spare Parts Catalog.pdf
- 6. _01-01-06 10113B BATTERY COVER 15P_476-565Ah,16P_18P_645Ah,16PB_18PB Spare Parts Catalog.pdf
- 7. _01-01-07 10117 CLAMP FIT. Spare Parts Catalog.pdf
- 8. _01-01-08 10290 LAMP COVER Spare Parts Catalog.pdf
- 9. _01-01-09 10400 COUNTER BALANCE WEIGHT Spare Parts Catalog.pdf
- 10. _01-01-10 10500 SEAT Spare Parts Catalog.pdf
- 11. _01-01-11 10600A OVERHEAD GUARD Division type Spare Parts Catalog.pdf
- 12. _01-01-12 10600B OVERHEAD GUARD Welding unify type Spare Parts Catalog.pdf
- 13. _01-01-13 10950A NAME PLATE FIT. English Spare Parts Catalog.pdf
- 14. _01-01-14 10951A NAME PLATE English Spare Parts Catalog.pdf
- 15. _01-01-15 10950B NAME PLATE FIT. Russian Spare Parts Catalog.pdf
- 16. _01-01-16 10951B NAME PLATE Russian Spare Parts Catalog.pdf
- 17. _01-01-17 10952 NAME PLATE FIT. SF Spare Parts Catalog.pdf
- 18. _01-01-18 10954 NAME PLATE FIT. LASER POINTER Spare Parts Catalog.pdf
- 19. _01-02-01 11300 FRONT AXLE 1 Spare Parts Catalog.pdf
- 20. _01-02-02 11301A1 FRONT AXLE 2 (-216E00862,-288E00642,-283E00016) Spare Parts Catalog.pdf
- 21. _01-02-03 11301A2 FRONT AXLE 2 (216E00863-,288E00643-,283E00017-) Spare Parts Catalog.pdf
- 22. _01-02-04 11400A FRONT WHEEL 15P Spare Parts Catalog.pdf
- 23. _01-02-05 11400B FRONT WHEEL 16P_18P, 16PB_18PB Spare Parts Catalog.pdf
- 24. _01-02-06 11400C FRONT WHEEL Snow tire Spare Parts Catalog.pdf
- 25. _01-02-07 11400D FRONT WHEEL Color tire, Cushion tire Spare Parts Catalog.pdf
- 26. _01-02-08 11500 FRONT AXLE FIT. Spare Parts Catalog.pdf
- 27. _01-02-09 12300 REAR AXLE 1 Spare Parts Catalog.pdf
- 28. _01-02-10 12301 REAR AXLE 2 Spare Parts Catalog.pdf
- 29. _01-02-11 12400A REAR WHEEL Spare Parts Catalog.pdf
- 30. _01-02-12 12400B REAR WHEEL Color tire Spare Parts Catalog.pdf
- 31. _01-03-01 13100 STEERING LINKAGE 1 STEERING WHEEL Spare Parts Catalog.pdf
- 32. _01-03-02 13101 STEERING LINKAGE 2 Spare Parts Catalog.pdf
- 33. _01-03-03 13102 STEERING LINKAGE 3 Spare Parts Catalog.pdf
- 34. _01-03-04 13103 STEERING LINKAGE 4 Spare Parts Catalog.pdf
- 35. _01-03-05 13210 FOOT BRAKE LINKAGE 1 Spare Parts Catalog.pdf
- 36. _01-03-06 13211 FOOT BRAKE LINKAGE 2 MASTER CYLINDER Spare Parts Catalog.pdf
- 37. _01-03-07 13300 PARKING BRAKE LINKAGE 1 Spare Parts Catalog.pdf
- 38. _01-03-08 13301 PARKING BRAKE LINKAGE 2 Spare Parts Catalog.pdf
- 39. _01-03-09 13400A VALVE LINKAGE 1 2 SPOOLS Spare Parts Catalog.pdf
- 40. _01-03-10 13400B VALVE LINKAGE 1 3 SPOOLS Spare Parts Catalog.pdf
- 41. _01-03-11 13400C VALVE LINKAGE 1 4 SPOOLS Spare Parts Catalog.pdf
- 42. _01-03-12 13401A VALVE LINKAGE 2 2 SPOOLS Spare Parts Catalog.pdf
- 43. _01-03-13 13401B VALVE LINKAGE 2 3 SPOOLS Spare Parts Catalog.pdf
- 44. _01-03-14 13401C VALVE LINKAGE 2 4 SPOOLS Spare Parts Catalog.pdf
- 45. _01-03-15 13500 ACCELERATOR LINKAGE Spare Parts Catalog.pdf
- 46. _01-04-01 15000A OIL TANK RESIN OIL TANK Spare Parts Catalog.pdf
- 47. _01-04-02 15000B OIL TANK IRON OIL TANK Spare Parts Catalog.pdf
- 48. _01-04-03 15100 OIL PUMP Spare Parts Catalog.pdf
- 49. _01-04-04 15200A CONTROL VALVE 2 SPOOLS Spare Parts Catalog.pdf
- 50. _01-04-05 15200B CONTROL VALVE 3 SPOOLS Spare Parts Catalog.pdf
- 51. _01-04-06 15200C CONTROL VALVE 4 SPOOLS Spare Parts Catalog.pdf
- 52. _01-04-07 15510A FRAME PIPING 2 SPOOLS Spare Parts Catalog.pdf
- 53. _01-04-08 15510B FRAME PIPING 3,4 SPOOLS Spare Parts Catalog.pdf
- 54. _01-04-09 15560 BRAKE PIPING Spare Parts Catalog.pdf
- 55. _02-05-01 20520A LIFT CYLINDER Pm Spare Parts Catalog.pdf
- 56. _02-05-02 20520B LIFT CYLINDER Pm CS_RP Spare Parts Catalog.pdf
- 57. _02-05-03 20540 TILT CYLINDER Pm Spare Parts Catalog.pdf
- 58. _02-05-04 20560A MAST PIPING Pm Spare Parts Catalog.pdf
- 59. _02-05-05 20560B MAST PIPING Pm CS_RP Spare Parts Catalog.pdf
- 60. _02-05-06 20580A MAST PIPING PmSF w.o_LASER POINTER Spare Parts Catalog.pdf
- 61. _02-05-07 20610A OUTER MAST Pm w.o_LASER POINTER Spare Parts Catalog.pdf
- 62. _02-05-08 20610B OUTER MAST Pm w_LASER POINTER Spare Parts Catalog.pdf
- 63. _02-05-09 20630 INNER MAST Pm Spare Parts Catalog.pdf
- 64. _02-05-10 20640 CHAIN WHEEL Pm Spare Parts Catalog.pdf
- 65. _02-05-11 20900 WIRING MAST Pm LASER POINTER Spare Parts Catalog.pdf
- 66. _02-05-12 20580B MAST PIPING PmSF w_LASER POINTER Spare Parts Catalog.pdf
- 67. _02-06-01 21520A LIFT CYLINDER(1st) Mm Spare Parts Catalog.pdf
- 68. _02-06-02 21530A LIFT CYLINDER(2nd) Mm STD_MLH_6500 Spare Parts Catalog.pdf
- 69. _02-06-03 21530B LIFT CYLINDER(2nd) Mm STD_MLH_6500, CS_RP Spare Parts Catalog.pdf
- 70. _02-06-04 21540 TILT CYLINDER Mm Spare Parts Catalog.pdf
- 71. _02-06-05 21560A MAST PIPING Mm STD_MLH_6500 Spare Parts Catalog.pdf
- 72. _02-06-06 21560B MAST PIPING Mm STD_MLH_6500, CS_RP Spare Parts Catalog.pdf
- 73. _02-06-07 21580A MAST PIPING MmSF w.o_LASER POINTER Spare Parts Catalog.pdf
- 74. _02-06-08 21580B MAST PIPING MmSF w_LASER POINTER Spare Parts Catalog.pdf
- 75. _02-06-09 21610 OUTER MAST Mm Spare Parts Catalog.pdf
- 76. _02-06-10 21620 MIDDLE MAST Mm Spare Parts Catalog.pdf
- 77. _02-06-11 21630 INNER MAST Mm Spare Parts Catalog.pdf
- 78. _02-06-12 21640 CHAIN WHEEL(MAST) Mm Spare Parts Catalog.pdf
- 79. _02-06-13 21650 CHAIN WHEEL(LIFT) Mm Spare Parts Catalog.pdf
- 80. _02-06-14 21520B LIFT CYLINDER(1st) Mm CS_RP Spare Parts Catalog.pdf
- 81. _02-06-15 21900 WIRING MAST Mm LASER POINTER Spare Parts Catalog.pdf
- 82. _02-07-01 22520A LIFT CYLINDER(1st) Fm Spare Parts Catalog.pdf
- 83. _02-07-02 22520B LIFT CYLINDER(1st) Fm CS_RP Spare Parts Catalog.pdf
- 84. _02-07-03 22530A LIFT CYLINDER(2nd) Fm Spare Parts Catalog.pdf
- 85. _02-07-04 22530B LIFT CYLINDER(2nd) Fm CS_RP Spare Parts Catalog.pdf
- 86. _02-07-05 22540 TILT CYLINDER Fm Spare Parts Catalog.pdf
- 87. _02-07-06 22560 MAST PIPING Fm Spare Parts Catalog.pdf
- 88. _02-07-07 22580A MAST PIPING FmSF w.o_LASER POINTER Spare Parts Catalog.pdf
- 89. _02-07-08 22580B MAST PIPING FmSF w_LASER POINTER Spare Parts Catalog.pdf
- 90. _02-07-09 22610 OUTER MAST Fm Spare Parts Catalog.pdf
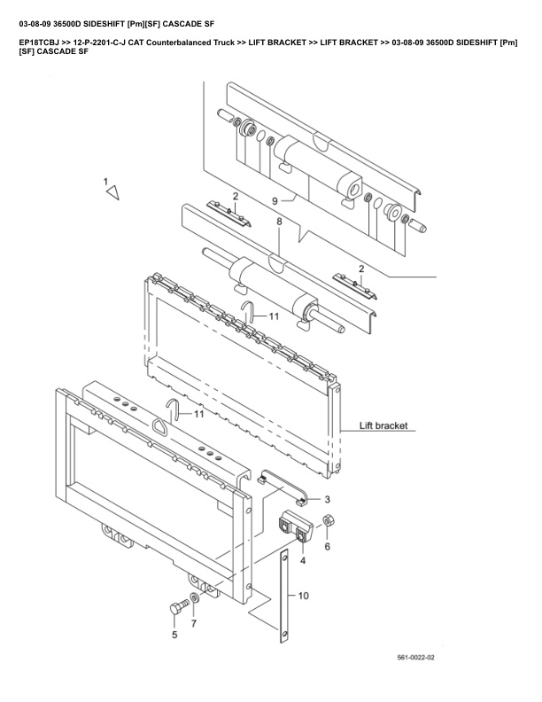
- 91. _02-07-10 22630 INNER MAST Fm Spare Parts Catalog.pdf
- 92. _02-07-11 22640 CHAIN WHEEL Fm Spare Parts Catalog.pdf
- 93. _02-07-12 22900 WIRING MAST LASER POINTER Fm Spare Parts Catalog.pdf
- 94. _03-08-01 36200A LIFT BRACKET Pm Applied to Japan Dom, _ Spare Parts Catalog.pdf
- 95. _03-08-02 36200B LIFT BRACKET Mm Spare Parts Catalog.pdf
- 96. _03-08-03 36200C LIFT BRACKET Fm Spare Parts Catalog.pdf
- 97. _03-08-04 36200D LIFT BRACKET Pm Spare Parts Catalog.pdf
- 98. _03-08-05 36201C LIFT BRACKET FmSF CASCADE SF, w_LASER POINTER Spare Parts Catalog.pdf
- 99. _03-08-06 36300 FORK Spare Parts Catalog.pdf
- 100. _03-08-07 36400A BACKREST Spare Parts Catalog.pdf
- 101. _03-08-08 36400B BACKREST Spare Parts Catalog.pdf
- 102. _03-08-09 36500D SIDESHIFT PmSF CASCADE SF Spare Parts Catalog.pdf
- 103. _03-08-10 36500E SIDESHIFT MmSF CASCADE SF Spare Parts Catalog.pdf
- 104. _03-08-11 36500F SIDESHIFT FmSF CASCADE SF Spare Parts Catalog.pdf
- 105. _03-08-12 36900 SHIFT CYLINDER BOOT SF Spare Parts Catalog.pdf
- 106. _03-08-13 36201A LIFT BRACKET PmSF CASCADE SF Spare Parts Catalog.pdf
- 107. _03-08-14 36201B LIFT BRACKET MmSF CASCADE SF, w_LASER POINTER Spare Parts Catalog.pdf
- 108. _03-08-15 36500A SIDESHIFT PmSF INTEGRAL SF Spare Parts Catalog.pdf
- 109. _03-08-16 36500B SIDESHIFT MmSF INTEGRAL SF Spare Parts Catalog.pdf
- 110. _03-08-17 36500C SIDESHIFT FmSF INTEGRAL SF Spare Parts Catalog.pdf
- 111. _04-09-01 40710 TRACTION MOTOR Spare Parts Catalog.pdf
- 112. _04-09-02 40720 HYDRAULIC MOTOR Spare Parts Catalog.pdf
- 113. _04-09-03 40730A EPS MOTOR EIKOU Spare Parts Catalog.pdf
- 114. _04-09-04 40730B EPS MOTOR FUJII Spare Parts Catalog.pdf
- 115. _04-10-01 44000A CONTROL UNIT 1 Spare Parts Catalog.pdf
- 116. _04-10-02 44000B CONTROL UNIT 1 Australia Spec Spare Parts Catalog.pdf
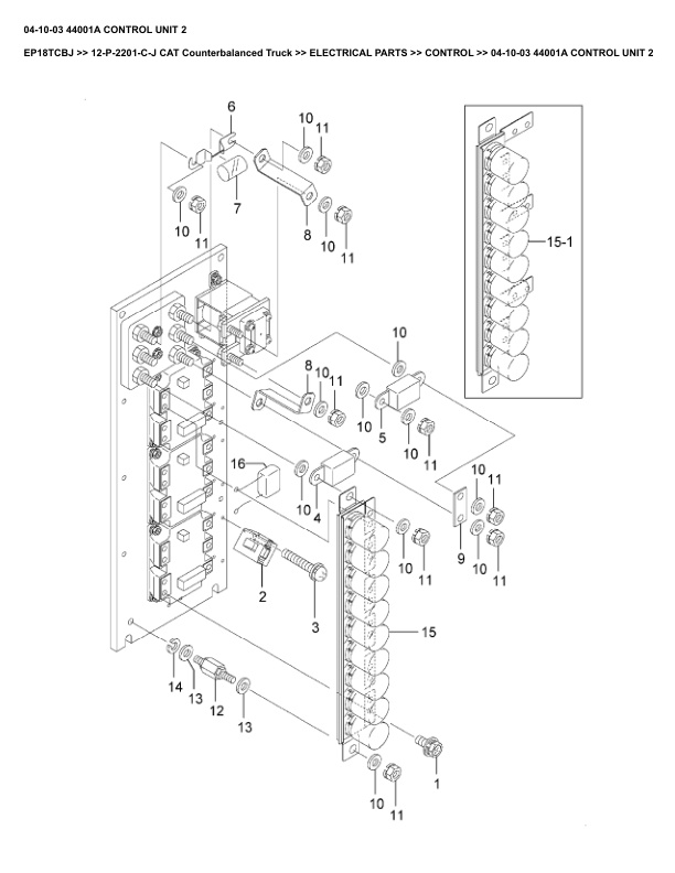
- 117. _04-10-03 44001A CONTROL UNIT 2 Spare Parts Catalog.pdf
- 118. _04-10-04 44001B CONTROL UNIT 2 Australia Spec Spare Parts Catalog.pdf
- 119. _04-10-05 44002A CONTROL UNIT 3 Spare Parts Catalog.pdf
- 120. _04-10-06 44002B CONTROL UNIT 3 Australia Spec Spare Parts Catalog.pdf
- 121. _04-10-07 44003A1 CONTROL UNIT 4 WIRE HARNESS,(-216E01635_-288E01067_-283E00024) Spare Parts Catalog.pdf
- 122. _04-10-08 44003A2 CONTROL UNIT 4 WIRE HARNESS,(216E01636-_288E01068-_283E00025-) Spare Parts Catalog.pdf
- 123. _04-10-09 44003B CONTROL UNIT 4 WIRE HARNESS, Australia Spec Spare Parts Catalog.pdf
- 124. _04-10-10 44004A CONTROL UNIT 5 FAN Spare Parts Catalog.pdf
- 125. _04-10-11 44004B CONTROL UNIT 5 FAN, Australia Spec Spare Parts Catalog.pdf
- 126. _04-10-12 44300 DIRECTIONAL SWITCH Spare Parts Catalog.pdf
- 127. _04-10-13 44760 FORK LEVELING Spare Parts Catalog.pdf
- 128. _04-10-14 45000A EPS CONTROLLER Spare Parts Catalog.pdf
- 129. _04-10-15 45000B EPS CONTROLLER Australia Spec Spare Parts Catalog.pdf
Rate this product
You may also like















