Skip to content
Owners Manual PDFOwners Manual PDF
  • Login
  • $0.00
    • No products in the cart.

      Return to shop

  • Cart

    No products in the cart.

    Return to shop

  • Category
  • Menu
  • About us
  • Shop
  • News
  • Contact Us
  • Aisle-Master
    • Aisle-Master Operator Manual PDF
    • Aisle-Master Parts Manual PDF
    • Aisle-Master Service Manual PDF
  • BT
    • BT Operator Manual PDF
    • BT Parts Manual PDF
    • BT Service Manual PDF
    • BT Wiring Diagrams PDF
  • Caterpillar
    • Caterpillar Operation Manual PDF
    • Caterpillar Parts Manual PDF
    • Caterpillar Service Manual PDF
    • Caterpillar Wiring Diagrams PDF
  • Mitsubishi
    • Mitsubishi Operation Manual PDF
    • Mitsubishi Operator Manual PDF
    • Mitsubishi Parts Manual PDF
    • Mitsubishi Service Manual PDF
    • Mitsubishi Wiring Diagrams PDF
    • Mitsubishi Workshop Manual PDF
  • Cesab
    • Cesab Operator Manual PDF
    • Cesab Parts Manual PDF
    • Cesab Service Manual PDF
  • Combilift
    • Combilift Operator Manual PDF
    • Combilift Parts Manual PDF
    • Combilift Service Manual PDF
    • Combilift Wiring Diagrams PDF
  • Deutz
    • Deutz Operator Manual PDF
    • Deutz Parts Manual PDF
  • Doosan
    • Doosan Operator Manual PDF
    • Doosan Other Manual PDF
    • Doosan Parts Manual PDF
    • Doosan Service Manual PDF
    • Doosan Wiring Diagrams PDF
  • EP Forklift
    • EP Forklift Operator Manual PDF
    • EP Forklift Parts Manual PDF
    • EP Forklift Service Manual PDF
  • Hangcha
    • Hangcha Operator Manual PDF
    • Hangcha Other Manual PDF
    • Hangcha Parts Manual PDF
    • Hangcha Service Manual PDF
  • IMPCO
    • IMPCO Operator Manual PDF
    • IMPCO Parts Manual PDF
    • IMPCO Service Manual PDF
  • Jiachen
    • Jiachen Operator Manual PDF
    • Jiachen Other Manual PDF
  • JLG
    • JLG Operator Manual PDF
    • JLG Parts Manual PDF
    • JLG Service Manual PDF
  • Kubota
    • Kubota Operator Manual PDF
    • Kubota Parts Manual PDF
    • Kubota Workshop Manual PDF
  • Mlift
    • Mlift Operation Manual PDF
    • Mlift Service Manual PDF
  • Nissan
    • Nissan Other Manual PDF
    • Nissan Service Manual PDF
  • Okamura
    • Okamura Other Manual PDF
    • Okamura Parts Manual PDF
    • Okamura Service Manual PDF
  • Perkins
    • Perkins Operation Manual PDF
    • Perkins Parts Manual PDF
  • PSI
    • PSI Operator Manual PDF
    • PSI Parts Manual PDF
    • PSI Service Manual PDF
  • Towmotor
    • Towmotor Operation Manual PDF
    • Towmotor Parts Manual PDF
    • Towmotor Service Manual PDF
  • Toyota
    • Toyota Parts Manual PDF
    • Toyota Service Manual PDF
  • Xinchai
    • Xinchai Operator Manual PDF
    • Xinchai Parts Manual PDF
    • Xinchai Workshop Manual PDF
    • Xinchai Other Manual PDF
  • Yanmar
    • Yanmar Operator Manual PDF
    • Yanmar Parts Manual PDF
    • Yanmar Service Manual PDF
    • Yanmar Other Manual PDF
  • Yitou
    • Yitou Operator Manual PDF
    • Yitou Other Manual PDF
    • Yitou Parts Manual PDF
Support
Email
admin@ownersmanualpdf.net
Follow us
Home / Caterpillar / Caterpillar Parts Manual PDF
Caterpillar NPP20N3E Parts Manual DOC00048992
Caterpillar NPP20N3E Parts Manual DOC00048992 - Image 2
Caterpillar NPP20N3E Parts Manual DOC00048992 - Image 3
Caterpillar NPP20N3E Parts Manual DOC00048992 - Image 4
Caterpillar NPP20N3E Parts Manual DOC00048992 - Image 5
caterpillar npp20n3e parts manual doc00048992 2
caterpillar npp20n3e parts manual doc00048992 3
caterpillar npp20n3e parts manual doc00048992 4
caterpillar npp20n3e parts manual doc00048992 5

Caterpillar NPP20N3E Parts Manual DOC00048992

$50.00

  • Type Of Manual: Parts Manual
  • Book Number: DOC00048992
  • Information: CAT CHASSIS, MAST, OPTIONS – INTERNAL HOSING
  • Number of Pages: 255
  • Size: 22.6MB
  • Format: PDF
Category: Caterpillar Parts Manual PDF
Product Categories
  • Aisle-Master (0)
    • Aisle-Master Operator Manual PDF (0)
    • Aisle-Master Parts Manual PDF (0)
    • Aisle-Master Service Manual PDF (0)
  • All Product (3841)
    • CAT (3841)
      • Articulated Dump Truck (54)
        • Articulated Dump Truck (54)
        • CAT (54)
      • Asphalt (72)
        • Asphalt (72)
        • CAT (72)
      • Compactor (20)
        • CAT (20)
        • Compactor (20)
      • Dozer (712)
        • Articulated Dump Truck (1)
        • CAT (712)
        • Dozer (709)
        • Engine (2)
      • Engine (873)
        • CAT (873)
        • Engine (873)
      • Excavator (1203)
        • CAT (1203)
        • Excavator (1203)
      • Forklift (11)
        • CAT (11)
        • Forklift (11)
      • Loader (606)
        • CAT (606)
        • Loader (606)
          • CAT (0)
          • Loader (0)
      • Motor Grader (179)
        • CAT (179)
        • Motor Grader (179)
      • Scraper (41)
        • CAT (41)
        • Scraper (41)
      • Skidder (9)
        • CAT (9)
        • Skidder (2)
        • Skidsteer (7)
      • Skidsteer (57)
        • CAT (57)
        • Skidsteer (57)
      • Telehandler (4)
        • CAT (4)
        • Telehandler (4)
  • Big Joe (0)
    • Big Joe Service Manual PDF (0)
  • BT (2146)
    • BT Operator Manual PDF (190)
    • BT Parts Manual PDF (1797)
    • BT Service Manual PDF (152)
    • BT Wiring Diagrams PDF (7)
  • Bucyrus (635)
    • Bucyrus Operation Manual PDF (88)
    • Bucyrus Operator Manual PDF (0)
    • Bucyrus Parts Manual PDF (544)
    • Bucyrus Service Manual PDF (1)
    • Bucyrus Wiring Diagrams PDF (2)
  • Carraro (0)
    • Carraro Parts Manual PDF (0)
  • Caterpillar (4119)
    • Caterpillar Operation Manual PDF (376)
    • Caterpillar Operator Manual PDF (146)
    • Caterpillar Parts Manual PDF (2579)
    • Caterpillar Service Manual PDF (586)
    • Caterpillar Wiring Diagrams PDF (432)
  • Cesab (0)
    • Cesab Operator Manual PDF (0)
    • Cesab Parts Manual PDF (0)
    • Cesab Service Manual PDF (0)
  • Combilift (0)
    • Combilift Operator Manual PDF (0)
    • Combilift Parts Manual PDF (0)
    • Combilift Service Manual PDF (0)
    • Combilift Wiring Diagrams PDF (0)
  • Curtis (0)
    • Curtis Operator Manual PDF (0)
  • Daewoo (0)
    • Daewoo Wiring Diagrams PDF (0)
  • Davis Derby (0)
    • Davis Derby Service Manual PDF (0)
  • Deutz (0)
    • Deutz Operator Manual PDF (0)
    • Deutz Parts Manual PDF (0)
  • Dongfeng Chaoyang (0)
    • Dongfeng Chaoyang Parts Manual PDF (0)
  • Doosan (0)
    • Doosan Operator Manual PDF (0)
    • Doosan Other Manual PDF (0)
    • Doosan Parts Manual PDF (0)
    • Doosan Service Manual PDF (0)
    • Doosan Wiring Diagrams PDF (0)
  • Dungheinrich (1)
    • Dungheinrich Operation Manual PDF (1)
  • Easycon II (0)
    • Easycon II Operator Manual PDF (0)
  • Eneroc (0)
    • Eneroc Service Manual PDF (0)
  • EP Forklift (0)
    • EP Forklift Operator Manual PDF (0)
    • EP Forklift Parts Manual PDF (0)
    • EP Forklift Service Manual PDF (0)
  • Guangdong (0)
    • Guangdong Operator Manual PDF (0)
  • Hangcha (584)
    • Hangcha Operator Manual PDF (145)
    • Hangcha Other Manual PDF (67)
    • Hangcha Parts Manual PDF (302)
    • Hangcha Service Manual PDF (70)
  • IMPCO (0)
    • IMPCO Operator Manual PDF (0)
    • IMPCO Parts Manual PDF (0)
    • IMPCO Service Manual PDF (0)
  • Isuzu (0)
    • Isuzu Operator Manual PDF (0)
    • Isuzu Parts Manual PDF (0)
    • Isuzu Workshop Manual PDF (0)
  • Jiachen (0)
    • Jiachen Operator Manual PDF (0)
    • Jiachen Other Manual PDF (0)
  • JLG (0)
    • JLG Operator Manual PDF (0)
    • JLG Parts Manual PDF (0)
    • JLG Service Manual PDF (0)
  • John Deere (0)
    • John Deere Parts Manual PDF (0)
  • Jungheinrich (0)
    • Jungheinrich Operator Manual PDF (0)
  • Kubota (0)
    • Kubota Operator Manual PDF (0)
    • Kubota Parts Manual PDF (0)
    • Kubota Workshop Manual PDF (0)
  • Lift-Rite (0)
    • Lift-Rite Parts Manual PDF (0)
  • Linkbelt (17)
    • Linkbelt (17)
  • Logisnext (1)
    • Logisnext Parts Manual PDF (0)
    • Logisnext Service Manual PDF (1)
  • Mannesmann (0)
    • Mannesmann Service Manual PDF (0)
  • Mitsubishi (600)
    • Mitsubishi Operation Manual PDF (200)
    • Mitsubishi Operator Manual PDF (0)
    • Mitsubishi Parts Manual PDF (22)
    • Mitsubishi Service Manual PDF (355)
    • Mitsubishi Wiring Diagrams PDF (22)
    • Mitsubishi Workshop Manual PDF (1)
  • Mlift (0)
    • Mlift Operation Manual PDF (0)
    • Mlift Service Manual PDF (0)
  • Motrec (0)
    • Motrec Operator Manual PDF (0)
  • Movit (0)
    • Movit Parts Manual PDF (0)
  • Nippon Yusoki (0)
    • Nippon Yusoki Parts Manual PDF (0)
    • Nippon Yusoki Workshop Manual PDF (0)
  • Nissan (0)
    • Nissan Other Manual PDF (0)
    • Nissan Service Manual PDF (0)
  • Okamura (0)
    • Okamura Other Manual PDF (0)
    • Okamura Parts Manual PDF (0)
    • Okamura Service Manual PDF (0)
  • Other Manual (140)
    • Caterpillar Other Manual PDF (139)
    • Mitsubishi Other Manual PDF (0)
    • Rocla Other Manual PDF (1)
  • Perkins (5)
    • Perkins Operation Manual PDF (5)
    • Perkins Parts Manual PDF (0)
  • Poclain Hydraulics (0)
    • Poclain Hydraulics Service Manual PDF (0)
  • PSI (0)
    • PSI Operator Manual PDF (0)
    • PSI Parts Manual PDF (0)
    • PSI Service Manual PDF (0)
  • Rocla (2)
    • Rocla Operation Manual PDF (2)
  • Toro (17)
    • Toro (17)
  • Towmotor (44)
    • Towmotor Operation Manual PDF (20)
    • Towmotor Parts Manual PDF (1)
    • Towmotor Service Manual PDF (23)
  • Toyota (0)
    • Toyota Parts Manual PDF (0)
    • Toyota Service Manual PDF (0)
  • VW (0)
    • VW Workshop Manual PDF (0)
  • Weichai (0)
    • Weichai Parts Manual PDF (0)
  • WoodWard (0)
    • WoodWard Service Manual PDF (0)
  • Xinchai (0)
    • Xinchai Operator Manual PDF (0)
    • Xinchai Other Manual PDF (0)
    • Xinchai Parts Manual PDF (0)
    • Xinchai Workshop Manual PDF (0)
  • Yamar (0)
    • Yamar Service Manual PDF (0)
  • Yanmar (0)
    • Yanmar Operator Manual PDF (0)
    • Yanmar Other Manual PDF (0)
    • Yanmar Parts Manual PDF (0)
    • Yanmar Service Manual PDF (0)
  • Yitou (0)
    • Yitou Operator Manual PDF (0)
    • Yitou Other Manual PDF (0)
    • Yitou Parts Manual PDF (0)
  • Yuchai (0)
    • Yuchai Parts Manual PDF (0)
  • Zapi (0)
    • Zapi Operator Manual PDF (0)
  • ZF (0)
    • ZF Other Manual PDF (0)
    • ZF Parts Manual PDF (0)
  • Model List:

    • NPP20N3E
  • 1. _01-01-01 ACCESSORIES Spare Parts Catalog.pdf
  • 2. _01-01-02 ACCESSORY RACK Spare Parts Catalog.pdf
  • 3. _01-01-03 ACCUMULATOR PLUG Spare Parts Catalog.pdf
  • 4. _01-01-04 COMPUTER RACK Spare Parts Catalog.pdf
  • 5. _01-01-05 LIST BRACKET Spare Parts Catalog.pdf
  • 6. _01-01-06 PALLET ENTRY AND EXIT ROLLER Spare Parts Catalog.pdf
  • 7. _01-01-07 WORKING LED LIGHT Spare Parts Catalog.pdf
  • 8. _01-01-08 BATTERY CHANGING DEVICE Spare Parts Catalog.pdf
  • 9. _01-01-09 BATTERY ROLLER Spare Parts Catalog.pdf
  • 10. _01-01-10 CHASSIS, HIGHER GROUND CLEARANCE Spare Parts Catalog.pdf
  • 11. _01-01-11 ADDITIONAL FAN Spare Parts Catalog.pdf
  • 12. _01-01-12 FAN (RL661620) Spare Parts Catalog.pdf
  • 13. _01-01-13 LI-ION KIT Spare Parts Catalog.pdf
  • 14. _02-02-01 ELECTRIC PANEL Spare Parts Catalog.pdf
  • 15. _02-02-02 ELECTRIC PANEL, PLATFORM Spare Parts Catalog.pdf
  • 16. _02-02-03 INTERNAL CHARGER, 30A Spare Parts Catalog.pdf
  • 17. _02-02-04 CHARGING CONNECTOR, 150Ah BATTERY Spare Parts Catalog.pdf
  • 18. _02-02-05 CHARGING CONNECTOR, 250_375_500Ah BATTERY Spare Parts Catalog.pdf
  • 19. _02-02-06 INTERNAL CHARGER POWER CABLE, LEAD ACID, EURO Spare Parts Catalog.pdf
  • 20. _02-02-07 INTERNAL CHARGER POWER CABLE, LEAD ACID, UK Spare Parts Catalog.pdf
  • 21. _02-02-08 INTERNAL CHARGER POWER CABLE, LEAD ACID, DK Spare Parts Catalog.pdf
  • 22. _02-02-09 INTERNAL CHARGER POWER CABLE, LEAD ACID, SUI Spare Parts Catalog.pdf
  • 23. _02-02-10 ON-BOARD CHARGER POWER CABLE, LI-ION, EURO Spare Parts Catalog.pdf
  • 24. _02-02-11 ON-BOARD CHARGER POWER CABLE, LI-ION, UK Spare Parts Catalog.pdf
  • 25. _02-02-12 ON-BOARD CHARGER POWER CABLE, LI-ION, DK Spare Parts Catalog.pdf
  • 26. _02-02-13 ON-BOARD CHARGER POWER CABLE, LI-ION, SUI Spare Parts Catalog.pdf
  • 27. _02-02-14 POWER SUPPLY, 12V 150W Spare Parts Catalog.pdf
  • 28. _02-02-15 POWER SUPPLY, 12V 150W, PLATFORM Spare Parts Catalog.pdf
  • 29. _02-02-16 OPTIONAL RELAY Spare Parts Catalog.pdf
  • 30. _03-03-01 FORK CARRIAGE Spare Parts Catalog.pdf
  • 31. _03-03-02 FORK CARRIAGE, ERGO Spare Parts Catalog.pdf
  • 32. _03-03-03 FORK CARRIAGE, ERGO (RL659145) Spare Parts Catalog.pdf
  • 33. _03-03-04 LEVERAGE, LEFT Spare Parts Catalog.pdf
  • 34. _03-03-05 LEVERAGE, RIGHT Spare Parts Catalog.pdf
  • 35. _03-03-06 LEVERAGE, ERGO, LEFT Spare Parts Catalog.pdf
  • 36. _03-03-07 LEVERAGE, ERGO, RIGHT Spare Parts Catalog.pdf
  • 37. _03-03-08 PUSH ROD Spare Parts Catalog.pdf
  • 38. _03-03-09 CHAIN Spare Parts Catalog.pdf
  • 39. _03-03-10 CHAIN WHEEL Spare Parts Catalog.pdf
  • 40. _03-03-11 CHAIN YOKE Spare Parts Catalog.pdf
  • 41. _03-03-12 FORK, WHEEL Spare Parts Catalog.pdf
  • 42. _03-03-13 LOAD SUPPORT Spare Parts Catalog.pdf
  • 43. _03-03-14 LOAD SUPPORT, ERGO Spare Parts Catalog.pdf
  • 44. _04-04-01 MAIN ASSEMBLY Spare Parts Catalog.pdf
  • 45. _04-04-02 MAIN ASSEMBLY, PLATFORM Spare Parts Catalog.pdf
  • 46. _04-04-03 TRACTOR UNIT Spare Parts Catalog.pdf
  • 47. _04-04-04 PLATFORM Spare Parts Catalog.pdf
  • 48. _04-04-05 TRACTOR UNIT, PLATFORM Spare Parts Catalog.pdf
  • 49. _04-04-06 PLATFORM (RL610430) Spare Parts Catalog.pdf
  • 50. _04-04-07 BRACKET Spare Parts Catalog.pdf
  • 51. _04-04-08 TILLER ARM Spare Parts Catalog.pdf
  • 52. _04-04-09 TILLER HEAD Spare Parts Catalog.pdf
  • 53. _04-04-10 TILLER, TILLER HEAD Spare Parts Catalog.pdf
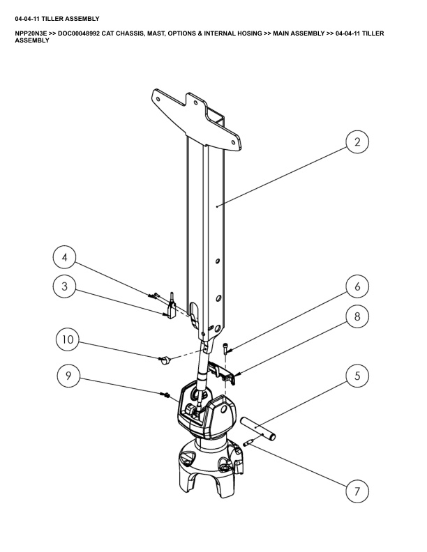
  • 54. _04-04-11 TILLER ASSEMBLY Spare Parts Catalog.pdf
  • 55. _04-04-12 TILLER ASSEMBLY, PLATFORM Spare Parts Catalog.pdf
  • 56. _04-04-13 TILLER FOOT Spare Parts Catalog.pdf
  • 57. _04-04-14 TILLER FOOT, PLATFORM Spare Parts Catalog.pdf
  • 58. _04-04-15 SWITCH, KEY, W_ PIN-CODE Spare Parts Catalog.pdf
  • 59. _04-04-16 KEYBOARD Spare Parts Catalog.pdf
  • 60. _04-04-17 BATTERY COVER, BASIC Spare Parts Catalog.pdf
  • 61. _04-04-18 BATTERY COVER, ERGO Spare Parts Catalog.pdf
  • 62. _04-04-19 BATTERY COVER, SWE Spare Parts Catalog.pdf
  • 63. _04-04-20 BATTERY ROLLER Spare Parts Catalog.pdf
  • 64. _04-04-21 BATTERY LATCH SENSOR Spare Parts Catalog.pdf
  • 65. _04-04-22 DECALS Spare Parts Catalog.pdf
  • 66. _04-04-23 DECALS, PLATFORM Spare Parts Catalog.pdf
  • 67. _05-05-01 HYDRAULIC SYSTEM, 1.6-1.8T Spare Parts Catalog.pdf
  • 68. _05-05-02 HYDRAULIC SYSTEM, 2.0T Spare Parts Catalog.pdf
  • 69. _05-05-03 HYDRAULIC SYSTEM, ERGO Spare Parts Catalog.pdf
  • 70. _05-05-04 HYDRAULIC SYSTEM, PLATFORM Spare Parts Catalog.pdf
  • 71. _05-05-05 HYDRAULIC SYSTEM, 1.6-1.8T, SILENT Spare Parts Catalog.pdf
  • 72. _05-05-06 HYDRAULIC SYSTEM, 2.0T, SILENT Spare Parts Catalog.pdf
  • 73. _05-05-07 HYDRAULIC AGGREGATE, ERGO Spare Parts Catalog.pdf
  • 74. _05-05-08 ERGO LIFT CYLINDER (RL610720) Spare Parts Catalog.pdf
  • 75. _05-05-09 HYDRAULIC SYSTEM, VALVE ELEMENT HOSES Spare Parts Catalog.pdf
  • 76. _05-05-10 VALVE BLOCK Spare Parts Catalog.pdf
  • 77. _05-05-11 HYDRAULIC SYSTEM, SEPARATE LIFTING FUNCTIONS, ERGO_INITIAL LIFT Spare Parts Catalog.pdf
  • 78. _06-06-01 DRIVING UNIT Spare Parts Catalog.pdf
  • 79. _06-06-02 DRIVING UNIT, COLD STORAGE Spare Parts Catalog.pdf
  • 80. _06-06-03 DRIVING UNIT, PLATFORM Spare Parts Catalog.pdf
  • 81. _06-06-04 DRIVING UNIT, PLATFORM, COLD STORAGE Spare Parts Catalog.pdf
  • 82. _06-06-05 DRIVING UNIT (RL657226) Spare Parts Catalog.pdf
  • 83. _06-06-06 GEAR Spare Parts Catalog.pdf
  • 84. _06-06-07 MOTOR BED, PLATFORM Spare Parts Catalog.pdf
  • 85. _07-07-01 DRIVE WHEEL Spare Parts Catalog.pdf
  • 86. _07-07-02 LOAD WHEEL, SINGLE Spare Parts Catalog.pdf
  • 87. _07-07-03 LOAD WHEEL, TANDEM Spare Parts Catalog.pdf
  • 88. _07-07-04 CASTER WHEEL Spare Parts Catalog.pdf
  • 89. _07-07-05 CASTER WHEEL (RL613012) Spare Parts Catalog.pdf
  • 90. _07-07-06 CASTER WHEEL, PLATFORM Spare Parts Catalog.pdf
  • 91. _07-07-07 CASTER WHEEL (RL624738) Spare Parts Catalog.pdf
Rate this product
You may also like
Caterpillar GP20N Parts Manual 98727-45100Alternative view of Caterpillar GP20N Parts Manual 98727-45100

Caterpillar Parts Manual PDF

Caterpillar GP20N Parts Manual 98727-45100

$50.00
Add to cart
Caterpillar GP20PT Parts Manual PCCEG-JT13H-24Alternative view of Caterpillar GP20PT Parts Manual PCCEG-JT13H-24

Caterpillar Parts Manual PDF

Caterpillar GP20PT Parts Manual PCCEG-JT13H-24

$50.00
Add to cart
Caterpillar GP20N Parts Manual 98727-45310Alternative view of Caterpillar GP20N Parts Manual 98727-45310

Caterpillar Parts Manual PDF

Caterpillar GP20N Parts Manual 98727-45310

$50.00
Add to cart
Caterpillar GP20N Parts Manual 98723-05230Alternative view of Caterpillar GP20N Parts Manual 98723-05230

Caterpillar Parts Manual PDF

Caterpillar GP20N Parts Manual 98723-05230

$50.00
Add to cart
Caterpillar GP20N Parts Manual 00001-00001Alternative view of Caterpillar GP20N Parts Manual 00001-00001

Caterpillar Parts Manual PDF

Caterpillar GP20N Parts Manual 00001-00001

$50.00
Add to cart
Caterpillar GP20N Parts Manual 98723-40000Alternative view of Caterpillar GP20N Parts Manual 98723-40000

Caterpillar Parts Manual PDF

Caterpillar GP20N Parts Manual 98723-40000

$50.00
Add to cart
Caterpillar GP20PT Parts Manual PCAEG-JT13H-24Alternative view of Caterpillar GP20PT Parts Manual PCAEG-JT13H-24

Caterpillar Parts Manual PDF

Caterpillar GP20PT Parts Manual PCAEG-JT13H-24

$50.00
Add to cart
Caterpillar GP20K MC Parts Manual 98715-40050Alternative view of Caterpillar GP20K MC Parts Manual 98715-40050

Caterpillar Parts Manual PDF

Caterpillar GP20K MC Parts Manual 98715-40050

$50.00
Add to cart
Caterpillar GP20N Parts Manual 98723-45300Alternative view of Caterpillar GP20N Parts Manual 98723-45300

Caterpillar Parts Manual PDF

Caterpillar GP20N Parts Manual 98723-45300

$50.00
Add to cart
Caterpillar GP20PD Parts Manual PCEEG-CT13H-23Alternative view of Caterpillar GP20PD Parts Manual PCEEG-CT13H-23

Caterpillar Parts Manual PDF

Caterpillar GP20PD Parts Manual PCEEG-CT13H-23

$50.00
Add to cart
    Links of interest
    • About us
    • Refund and Returns Policy
    • Terms & Conditions
    • Shipping Policy
    • Privacy Policy
    • Contact Us
    Product tags
    Agricultural Automotive Heavy Construction
© All rights reserved. 2023
PayPal
Visa
BitCoin
MasterCard
Western Union
Visa
PayPal
MasterCard
Copyright 2026 © ownersmanualpdf.net
  • Category
  • Menu
  • About us
  • Shop
  • News
  • Contact Us
  • Aisle-Master
    • Aisle-Master Operator Manual PDF
    • Aisle-Master Parts Manual PDF
    • Aisle-Master Service Manual PDF
  • BT
    • BT Operator Manual PDF
    • BT Parts Manual PDF
    • BT Service Manual PDF
    • BT Wiring Diagrams PDF
  • Caterpillar
    • Caterpillar Operation Manual PDF
    • Caterpillar Parts Manual PDF
    • Caterpillar Service Manual PDF
    • Caterpillar Wiring Diagrams PDF
  • Mitsubishi
    • Mitsubishi Operation Manual PDF
    • Mitsubishi Operator Manual PDF
    • Mitsubishi Parts Manual PDF
    • Mitsubishi Service Manual PDF
    • Mitsubishi Wiring Diagrams PDF
    • Mitsubishi Workshop Manual PDF
  • Cesab
    • Cesab Operator Manual PDF
    • Cesab Parts Manual PDF
    • Cesab Service Manual PDF
  • Combilift
    • Combilift Operator Manual PDF
    • Combilift Parts Manual PDF
    • Combilift Service Manual PDF
    • Combilift Wiring Diagrams PDF
  • Deutz
    • Deutz Operator Manual PDF
    • Deutz Parts Manual PDF
  • Doosan
    • Doosan Operator Manual PDF
    • Doosan Other Manual PDF
    • Doosan Parts Manual PDF
    • Doosan Service Manual PDF
    • Doosan Wiring Diagrams PDF
  • EP Forklift
    • EP Forklift Operator Manual PDF
    • EP Forklift Parts Manual PDF
    • EP Forklift Service Manual PDF
  • Hangcha
    • Hangcha Operator Manual PDF
    • Hangcha Other Manual PDF
    • Hangcha Parts Manual PDF
    • Hangcha Service Manual PDF
  • IMPCO
    • IMPCO Operator Manual PDF
    • IMPCO Parts Manual PDF
    • IMPCO Service Manual PDF
  • Jiachen
    • Jiachen Operator Manual PDF
    • Jiachen Other Manual PDF
  • JLG
    • JLG Operator Manual PDF
    • JLG Parts Manual PDF
    • JLG Service Manual PDF
  • Kubota
    • Kubota Operator Manual PDF
    • Kubota Parts Manual PDF
    • Kubota Workshop Manual PDF
  • Mlift
    • Mlift Operation Manual PDF
    • Mlift Service Manual PDF
  • Nissan
    • Nissan Other Manual PDF
    • Nissan Service Manual PDF
  • Okamura
    • Okamura Other Manual PDF
    • Okamura Parts Manual PDF
    • Okamura Service Manual PDF
  • Perkins
    • Perkins Operation Manual PDF
    • Perkins Parts Manual PDF
  • PSI
    • PSI Operator Manual PDF
    • PSI Parts Manual PDF
    • PSI Service Manual PDF
  • Towmotor
    • Towmotor Operation Manual PDF
    • Towmotor Parts Manual PDF
    • Towmotor Service Manual PDF
  • Toyota
    • Toyota Parts Manual PDF
    • Toyota Service Manual PDF
  • Xinchai
    • Xinchai Operator Manual PDF
    • Xinchai Parts Manual PDF
    • Xinchai Workshop Manual PDF
    • Xinchai Other Manual PDF
  • Yanmar
    • Yanmar Operator Manual PDF
    • Yanmar Parts Manual PDF
    • Yanmar Service Manual PDF
    • Yanmar Other Manual PDF
  • Yitou
    • Yitou Operator Manual PDF
    • Yitou Other Manual PDF
    • Yitou Parts Manual PDF