Caterpillar V200C Parts Manual SEBN2671
$50.00
- Type Of Manual: Parts Manual
- Book Number: SEBN2671
- Information: CAT CHASSISMASTENGINE 3208
- Number of Pages: 589
- Size: 345.5MB
- Format: PDF
Category: Caterpillar Parts Manual PDF
-
Model List:
- V200C
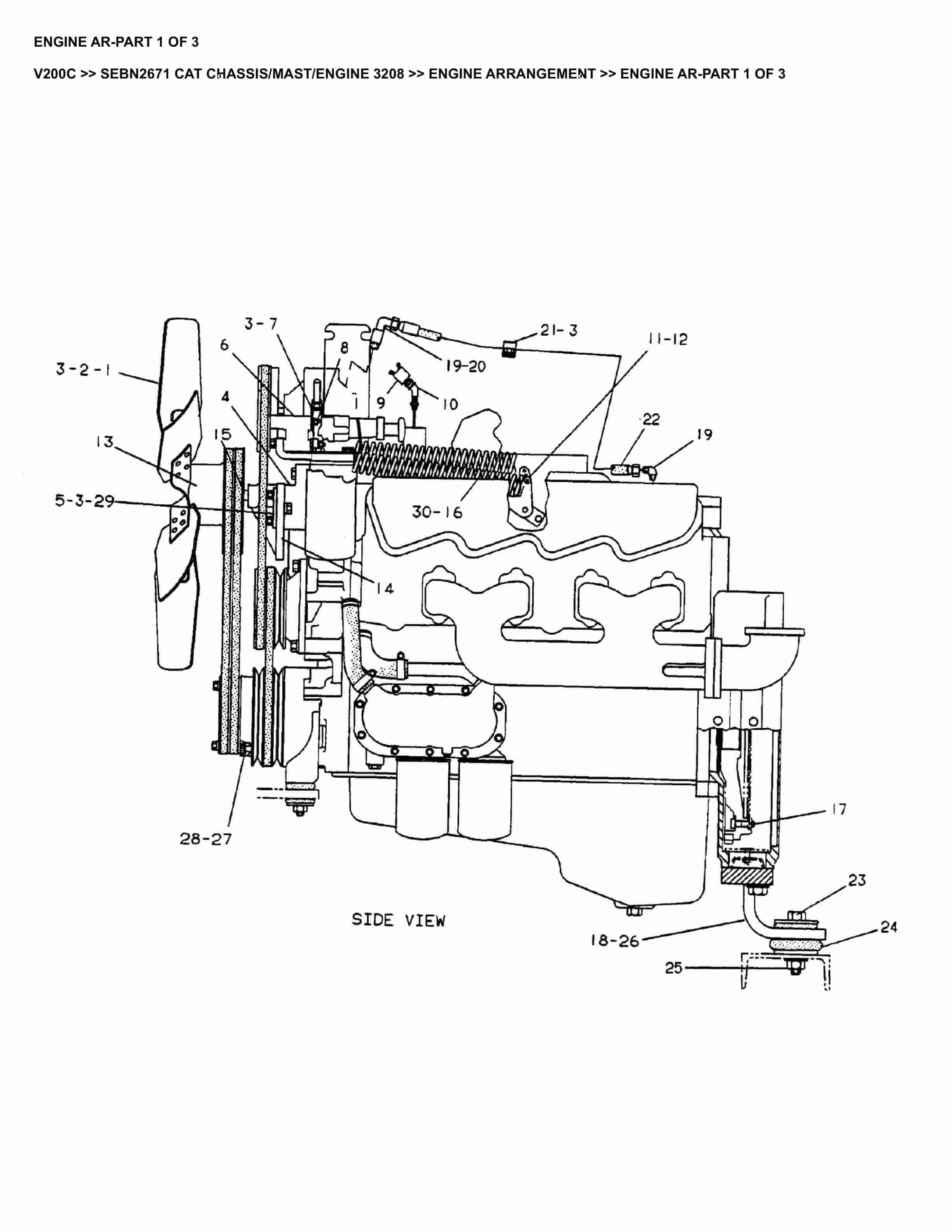
- 1. _ENGINE AR-PART 1 OF 3 Spare Parts Catalog.pdf
- 2. _ENGINE AR-PART 2 OF 3 8C5908-PAGE 78 Spare Parts Catalog.pdf
- 3. _ENGINE AR-PART 3 OF 3 536481-PAGE 152, 2N9305-PAGE 79, 1W6926-PAGE 2 Spare Parts Catalog.pdf
- 4. _CYLINDER BLOCK GP FOR FIELD REPLACEMENT ORDER ON3763-PAGE 8 Spare Parts Catalog.pdf
- 5. _SERVICE GP-CYLINDER BLOCK FIELD REPLACEMENT FOR 9N3761-PAGE 7 Spare Parts Catalog.pdf
- 6. _COVER GP-CYLINDER BLOCK Spare Parts Catalog.pdf
- 7. _CRANSHAFT GP FOR FIELD REPLACEMENT OF 9N6221 CRANKSHAFT ORDER 2W0085-PAGE 10 Spare Parts Catalog.pdf
- 8. _CRANKSHAFT GP_R FIELD REPLACEMENT FOR 9N6221-PAGE 9 (PART OF 9N6222) Spare Parts Catalog.pdf
- 9. _SEAL GP-CRANKSHAFT Spare Parts Catalog.pdf
- 10. _HOUSING GP-FLYWHEEL Spare Parts Catalog.pdf
- 11. _FLYWHEEL GP Spare Parts Catalog.pdf
- 12. _COVER GP-FLYWHEEL HOUSING Spare Parts Catalog.pdf
- 13. _PISTON AND ROD GP 7W3900-PAGE 14 Spare Parts Catalog.pdf
- 14. _PISTON GP PART OF 7W3901 PISTON AND ROD Spare Parts Catalog.pdf
- 15. _CAMSHAFT GP-SINGLE Spare Parts Catalog.pdf
- 16. _CYLINDER HEAD GP 1W421-PAGE 17 Spare Parts Catalog.pdf
- 17. _CYLINDER HEAD AS FOR FIELD REPLACEMENT ORDER 7C3807-PAGE 19 PART OF 1W4271, 7C3807 CYLINDER HEADS Spare Parts Catalog.pdf
- 18. _CYLINDER HEAD AS 7C2296-PAGE 18 FIELD REPLACEMENT FOR 7C2296-PAGE 18 Spare Parts Catalog.pdf
- 19. _PANEL GP-CYLINDER BLOCK FOR FIELD REPLACEMENT ORDER 9N6434-PAGE 21 Spare Parts Catalog.pdf
- 20. _PANEL GP-SOUND SUPPRESSION (CYLINDER BLOCK) FIELD REPLACEMENT FOR 9L6560-PAGE 20 Spare Parts Catalog.pdf
- 21. _VALVE MECHANISM GP Spare Parts Catalog.pdf
- 22. _COVER GP-VALVE MECHANISM 4W6974-PAGE 24, 4W7066-PAGE 24 Spare Parts Catalog.pdf
- 23. _COVER GP-VALVE MECHANISM PART OF 9L6978 COVER-VALVE MECHANISM Spare Parts Catalog.pdf
- 24. _COVER GP-VALVE MECHANISM 7C6353-PAGE 47 PART OF 9L6978 COVER-VALVE MECHANISM Spare Parts Catalog.pdf
- 25. _HOUSING GP-FRONT Spare Parts Catalog.pdf
- 26. _COVER GP-FRONT HOUSING Spare Parts Catalog.pdf
- 27. _DAMPER AND PULLEY GP Spare Parts Catalog.pdf
- 28. _PAN GP-OIL Spare Parts Catalog.pdf
- 29. _LIFTING GP Spare Parts Catalog.pdf
- 30. _PAINT AND LUBRICANT GP Spare Parts Catalog.pdf
- 31. _GAUGE GP-OIL LEVEL (DIPSTICK) (REAR SUMP) Spare Parts Catalog.pdf
- 32. _LINES GP-ENGINE OIL-REAR SUMP Spare Parts Catalog.pdf
- 33. _RADIATOR GP-PART 1 OF 2 Spare Parts Catalog.pdf
- 34. _RADIATOR GP-PART 2 OF 2 Spare Parts Catalog.pdf
- 35. _BAFFLE GP S_N 8EJ1-UP AN ATTACHMENT Spare Parts Catalog.pdf
- 36. _BAFFLE GP S_N 4AK1-UP AN ATTACHMENT Spare Parts Catalog.pdf
- 37. _PUMP GP-WATER Spare Parts Catalog.pdf
- 38. _LINES GP-WATER Spare Parts Catalog.pdf
- 39. _COOLER GP-ENGINE OIL 1W7526-PAGE 38 Spare Parts Catalog.pdf
- 40. _OIL COOLER AND FILTER BASE GP PART OF 1W7526 OIL COOLER AND FILTER BASE Spare Parts Catalog.pdf
- 41. _CHASSIS OPTION AR (HEAVY DUTY COOLING) AN ATTACHMENT Spare Parts Catalog.pdf
- 42. _MANIFOLD GP-EXHAUST Spare Parts Catalog.pdf
- 43. _MANIFOLD GP-INLET Spare Parts Catalog.pdf
- 44. _ELBOW GP-EXHAUST Spare Parts Catalog.pdf
- 45. _PIPING GP-EXHAUST Spare Parts Catalog.pdf
- 46. _AIR CLEANER GP 835275-PAGE 45, 4M0310-PAGE 46 Spare Parts Catalog.pdf
- 47. _AIR CLEANER GP PART OF 834916 AIR CLEANER Spare Parts Catalog.pdf
- 48. _PRECLEANER AS PART OF 834916 AIR CLEANER Spare Parts Catalog.pdf
- 49. _LINES GP-PCV Spare Parts Catalog.pdf
- 50. _VALVE AS-PCV (CRANKCASE VENTILATION) PART OF 4W7066 COVER-VALVE MECHANISM Spare Parts Catalog.pdf
- 51. _GOVERNOR AND FUEL INJECTION PUMP GP 9Y0500-PAGE 51, 9N0683-PAGE 57, 6N0509-PAGE 59 FOR FIELD REPLACEMENT _ORDER 9Y0511-P Spare Parts Catalog.pdf
- 52. _GOVERNOR AND FUEL INJECTION PUMP GP FIELD REPLACEMENT FOR 9Y0499-PAGE 49 Spare Parts Catalog.pdf
- 53. _GOVERNOR AND FUEL INJECTION PUMP GP 9Y0509-PAGE 52, 6N0509-PAGE 59 PART OF 9Y0511 GOVERNOR AND FUEL INJECTION _PUMP FIEL Spare Parts Catalog.pdf
- 54. _GOVERNOR AND FUEL INJECTION PUMP GP 9Y0509-PAGE 52 PART OF 9Y0499 GOVERNOR AND Spare Parts Catalog.pdf
- 55. _GOVERNOR AND FUEL INJECTION PUMP GP PART 1 OF 5 PART OF 9Y0500, 9Y5012 GOVERNOR AND FUEL INJECTION PUMPS Spare Parts Catalog.pdf
- 56. _GOVERNOR AND FUEL INJECTION PUMP GP-PART 2 OF 5 PART OF 9Y0500, 9Y5012 GOVERNOR AND FUEL INJECTION PUMPS Spare Parts Catalog.pdf
- 57. _GOVERNOR AND FUEL INJECTION PUMP GP-PART 3 OF 5 PART OF 9Y0500, 9Y5012 GOVERNOR AND FUEL INJECTION PUMPS Spare Parts Catalog.pdf
- 58. _GOVERNOR AND FUEL INJECTION PUMP GP-PART 4 OF 5 PART OF 9Y0500, 9Y5012 GOVERNOR AND FUEL INJECTION PUMPS Spare Parts Catalog.pdf
- 59. _GOVERNOR AND FUEL INJECTION PUMP GP-PART 5 OF 5 PART OF 9Y0500, 9Y5012 GOVERNOR AND FUEL INJECTION PUMPS Spare Parts Catalog.pdf
- 60. _SHUT-OFF GP-ELECTRICAL (12 VOLT) 6N9988-PAGE 57 PART OF 9Y0499 GOVERNOR AND FUEL INJECTION PUMP Spare Parts Catalog.pdf
- 61. _SOLENOID GP-SHUT-OFF (12 VOLT) PART OF 9N0683 SHUT-OFF-ELECTRICAL Spare Parts Catalog.pdf
- 62. _SOLENOID AS-SHUT-OFF (12 VOLT) PART OF 6N9988 SOLENOID-SHUT-OFF Spare Parts Catalog.pdf
- 63. _SOLENOID AS-SHUT-OFF (12 VOLT) PART OF 6N9988 SOLENOID-SHUT-OFF_1 Spare Parts Catalog.pdf
- 64. _TORQUE CONTROL GP PART OF 9Y0499, 9Y0512 GOVERNOR AND FUEL INJECTION PUMPS Spare Parts Catalog.pdf
- 65. _FASTENER GP-FUEL PUMP HOUSING Spare Parts Catalog.pdf
- 66. _CONTROL GP-GOVERNOR Spare Parts Catalog.pdf
- 67. _DRIVE GP-GOVERNOR AND FUEL PUMP Spare Parts Catalog.pdf
- 68. _PUMP GP-FUEL PRIMING Spare Parts Catalog.pdf
- 69. _LINES GP-FUEL INJECTION 9Y0300-PAGE 63, 9Y0301-PAGE 64 Spare Parts Catalog.pdf
- 70. _LINES GP-FUEL INJECTION PART OF 7W1998 LINES-FUEL INJECTION Spare Parts Catalog.pdf
- 71. _LINES GP-FUEL INJECTION PART OF 7W1998 LINES-FUEL INJECTION_1 Spare Parts Catalog.pdf
- 72. _LINES GP-FUEL Spare Parts Catalog.pdf
- 73. _TANK GP-FUEL Spare Parts Catalog.pdf
- 74. _LINES GP-FUEL FILTER Spare Parts Catalog.pdf
- 75. _FILTER GP-FUEL Spare Parts Catalog.pdf
- 76. _PEDAL GP-GOVERNOR Spare Parts Catalog.pdf
- 77. _SEPARATOR GP-WATER 4P0632-PAGE 71 Spare Parts Catalog.pdf
- 78. _SEPARATOR GP-WATER PART OF 9Y6062 SEPARATOR-WATER Spare Parts Catalog.pdf
- 79. _BATTERY AND WIRING GP-PART 1 OF 2 Spare Parts Catalog.pdf
- 80. _BATTERY AND WIRING GP-PART 2 OF 2 Spare Parts Catalog.pdf
- 81. _PANEL GP-INSTRUMENT 9W1490-PAGE 77 Spare Parts Catalog.pdf
- 82. _KIT-METER SERVICE PART OF 835389 PANEL-INSTRUMENT Spare Parts Catalog.pdf
- 83. _METER-SERVICE PART OF 9W1490 KIT-METER SERVICE Spare Parts Catalog.pdf
- 84. _ALTERNATOR GP PART OF 697474 ENGINE AR Spare Parts Catalog.pdf
- 85. _STARTING MOTOR GP-ELECTRIC (12 VOLT) 3T2655-PAGE 80 PART OF 697474 ENGINE AR Spare Parts Catalog.pdf
- 86. _STARTING MOTOR GP-ELECTRIC_R (12 VOLT) PART OF 2N9305 STARTING MOTOR-ELECTRIC Spare Parts Catalog.pdf
- 87. _STARTING MOTOR GP-ELECTRIC (12 VOLT) PART OF 3T2655 STARTING MOTOR-ELECTRIC Spare Parts Catalog.pdf
- 88. _STARTING MOTOR GP-ELECTRIC (12 VOLT) PART OF 3T2655 STARTING MOTOR-ELECTRIC_1 Spare Parts Catalog.pdf
- 89. _HORN GP-ELECTRIC Spare Parts Catalog.pdf
- 90. _ACCESSORY AR-WARNING LIGHT (ROTATING AMBER) AN ATTACHMENT Spare Parts Catalog.pdf
- 91. _ACCESSORY AR-WARNING LIGHT (ROTATING AMBER) 9R8250-PAGE 89.01 FOR USE WITH Spare Parts Catalog.pdf
- 92. _ACCESSORY AR-BACK UP ALARM AN ATTACHMENT Spare Parts Catalog.pdf
- 93. _ACCESSORY AR-TRAVEL LIGHTS-COSA AN ATTACHMENT Spare Parts Catalog.pdf
- 94. _LAMP GP-WARNING (ROTATING AMBER) PART OF 834933 ACCESSORY AR-WARNING LIGHT AN ATTACHMENT Spare Parts Catalog.pdf
- 95. _TRANSMISSION GP-TORQUE CONVERTER 9J1212-PAGE 111, 8E9463-PAGE 91 Spare Parts Catalog.pdf
- 96. _TRANSMISSION GP-TORQUE CONVERTER PART 1 OF 5 8E9700-PAGE 106, 6Y8854-PAGE 107, 8E2330-PAGE 108 835402- _TRANSMISSION FIE Spare Parts Catalog.pdf
- 97. _TRANSMISSION GP-TORQUE CONVERTER PART 2 OF 5 8E9700-PAGE 106, 6Y8854-PAGE 107, 8E2330-PAGE 108 835402- _TRANSMISSION FIE Spare Parts Catalog.pdf
- 98. _TRANSMISSION GP-TORQUE CONVERTER PART 3 OF 5 8E9700-PAGE 106, 6Y8854-PAGE 107, 8E2330-PAGE 108 835402- _TRANSMISSION FIE Spare Parts Catalog.pdf
- 99. _TRANSMISSION GP-TORQUE CONVERTER PART 4 OF 5 8E9700-PAGE 106, 6Y8854-PAGE 107, 8E2330-PAGE 108 835402- _TRANSMISSION FIE Spare Parts Catalog.pdf
- 100. _TRANSMISSION GP-TORQUE CONVERTER-PART 5 OF 5 8E9700-PAGE 106, 6Y8854-PAGE 107, 8E2330-PAGE 108 835402- _TRANSMISSION FIE Spare Parts Catalog.pdf
- 101. _TRANSMISSION GP-TORQUE CONVERTER-PART 1 OF 5 8E9700-PAGE 106, 6Y8854-PAGE 107 FIELD REPLACEMENT FOR 8E9463- _PAGE 91 Spare Parts Catalog.pdf
- 102. _TRANSMISSION GP-TORQUE CONVERTER-PART 2 OF 5 8E9700-PAGE 106, 6Y8854-PAGE 107 FIELD REPLACEMENT FOR 8E9463- _PAGE 91 Spare Parts Catalog.pdf
- 103. _TRANSMISSION GP-TORQUE CONVERTER PART 3 OF 5 8E9700-PAGE 106, 6Y8854-PAGE 107 FIELD REPLACEMENT FOR 8E9463- _PAGE 91 Spare Parts Catalog.pdf
- 104. _TRANSMISSION GP-TORQUE CONVERTER PART 4 OF 5 8E9700-PAGE 106, 6Y8854-PAGE 107 FIELD REPLACEMENT FOR 8E9463- _PAGE 91 Spare Parts Catalog.pdf
- 105. _TRANSMISSION GP-TORQUE CONVERTER PART 5 OF 5 8E9700-PAGE 106, 6Y8854-PAGE 107 FIELD REPLACEMENT FOR 8E9463- _PAGE 91 Spare Parts Catalog.pdf
- 106. _TRANSMISSION GP-TORQUE CONVERTER-PART 1 OF 5 8E9700-PAGE 106, 6Y8854-PAGE 107, 8E2330-PAGE 108 PART OF 6R8246 _CHASSIS O Spare Parts Catalog.pdf
- 107. _TRANSMISSION GP-TORQUE CONVERTER PART 2 OF 5 8E9700-PAGE 106, 6Y8854-PAGE 107, 8E2330-PAGE 108 PART OF 6R8246 _CHASSIS O Spare Parts Catalog.pdf
Rate this product
You may also like















