BT HWE100, HWE100S, LWE130 Service Manual 238344-040
$30.00
- Type Of Manual: Service Manual
- Manual ID: 238344-040
- : Service Manual PDF
- Number of Pages: 142
- Size: 7.7MB
- Format: PDF
Category: BT Service Manual PDF
-
Model List:
- HWE100, HWE100S, LWE130
- 1. Return To HomePage
- 2. Table of Contents
- 3. Technical data
- 3.1. General tightening torques
- 4. Maintenance
- 4.1. Safety regulations with maintenance work
- 4.2. Cleaning and washing
- 4.2.1. External cleaning
- 4.2.2. Cleaning the motor compartment
- 4.2.3. Electrical components
- 4.3. Safe lifting
- 4.4. Lifting the truck HWE100/HWE100S
- 4.5. Lifting the truck LWE130
- 4.5.1. Using a lifting device
- 4.5.2. Lifting points, using another fork lift truck
- 4.6. Placing the truck on its side HWE100/HWE100S
- 4.7. Maintenance Schedule
- 4.8. Oil and lubricants
- 5. Tools
- 5.1. Super Seal connectors
- 5.2. AMP connectors
- 5.2.1. AMP Connectors, 040 series
- 5.3. Molex connectors
- 5.4. Grease guns
- 5.5. Other tools
- 6. Chassis – 0000
- 6.1. Support arms HWE100
- 6.1.1. Placement of supportarms
- 6.2. Support arms HWE100S
- 6.2.1. General
- 6.2.2. Main Components
- 6.2.3. Maintenance
- 6.2.4. Adjusting the support arm width
- 6.2.5. Replacing support arms
- 7. Drive unit/drive gear – 2000
- 7.1. Component parts
- 7.2. Service and repairs
- 7.2.1. Dismantling the motor from the truck
- 7.2.2. Inspection/replacement of the carbon brushes
- 7.2.3. Replacing the drive gear
- 7.2.4. Cleaning
- 7.2.5. Maintenance of brakes
- 7.2.6. Replacing the brake disc
- 8. Wheel system – 3000
- 8.1. Castor wheel suspension HWE100/ HWE100S
- 8.1.1. Components
- 8.1.2. Lubricating the nipples
- 8.1.3. Adjusting the castor wheel pressure
- 8.2. Castor wheel LWE130
- 8.2.1. Lubricating the nipples
- 9. Steering system – 4000
- 9.1. Components
- 10. Electrical system – 5000
- 10.1. General
- 10.1.1. Firmware (truck control software)
- 10.2. Names of parts
- 10.3. Electric equipment list summary
- 10.3.1. Electric component overview
- 10.4. Access to the main electric panel
- 10.5. Electric circuit overview
- 10.6. Symbol list
- 10.7. Electric wiring diagram
- 10.8. Automatic height adjustment
- 10.9. Functional description
- 10.9.1. Operating principle
- 10.9.2. Transistor regulator
- 10.9.2.1. General
- 10.9.3. Battery charging on-board the truck (machine number 947624-)
- 10.9.3.1. Charging
- 10.9.3.2. Technical data
- 10.9.3.3. Alarm indications on charger
- 10.9.4. Battery charge level status
- 10.9.4.1. Battery display (option)
- 10.9.5. Built-in charger for charging on a lorry – LWE130
- 10.9.5.1. General
- 10.9.5.2. Installation recommendations for the connection point on a lorry
- 10.9.5.3. Installation on the truck
- 10.9.5.4. Charging
- 10.9.5.5. Troubleshooting
- 10.9.5.6. Technical data
- 10.9.6. Limiting the travel speed
- 10.9.7. Hour meter modes
- 10.9.8. Hand-held terminal
- 10.9.8.1. General
- 10.9.8.2. Connecting the hand-held terminal
- 10.9.8.3. Hand-held terminal overview
- 10.9.8.4. Hand-held terminal menus
- 10.10. Troubleshooting
- 10.10.1. General
- 10.10.2. Displaying error codes
- 10.10.2.1. Direct error code display
- 10.10.2.2. Displaying error code on the hand-held terminal
- 10.10.2.3. Error history
- 10.10.3. Error code list
- 10.10.4. TESTER function
- 10.11. Parameters and settings
- 10.11.1. General
- 10.11.2. Setting the parameters
- 10.11.3. Parameter list
- 10.11.4. Parameter description
- 10.11.4.1. Acceleration ramp time (ACC.DELAY)
- 10.11.4.2. Deceleration ramp time (ACC.DELAY)
- 10.11.4.3. Release breaking intensity (RELEASE BRAKING)
- 10.11.4.4. Inversion braking intensity (INVERSION BRAKING)
- 10.11.4.5. Maximum speed (CUTBACK SPEED 3)
- 10.11.4.6. Reset service counter (CHECK UP DONE)
- 10.11.4.7. Select service warning type (CHECK UP TYPE)
- 10.11.4.8. Time to next service (CHECK UP HOURS)
- 10.11.5. Transferring parameter settings
- 10.11.5.1. General
- 10.11.5.2. From the truck to the hand-held terminal
- 10.11.5.3. From the hand-held terminal to the truck
- 10.11.6. Speed potentiometer calibration
- 10.11.6.1. General
- 10.11.6.2. Procedure
- 10.12. Technical data
- 10.12.1. SEM-X transistor regulator
- 11. Hydraulic system – 6000
- 11.1. HWE100/HWE100S
- 11.2. Hydraulics diagram and main components HWE100/HWE100S
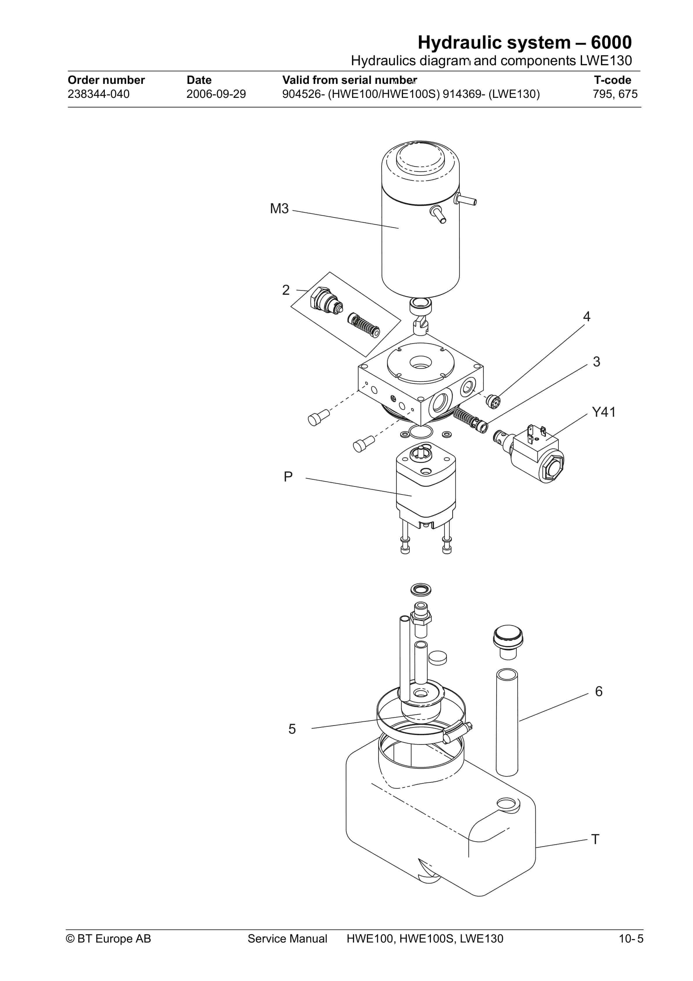
- 11.3. Hydraulics diagram and components LWE130
- 11.4. Description HWE100/HWE100S/ LWE130
- 11.4.1. Operating pressure and pressure limitation
- 11.5. Adjustments
- 11.5.1. Adjustment of the pressure limit valve HWE100/HWE130
- 11.5.2. Adjustment of the pressure limit valve LWE130
- 11.6. Tools HWE100/HWE100S/LWE130
- 12. Lift mast HWE100/HWE100S – 7000
- 12.1. Main mast
- 12.1.1. Components
- 12.1.2. Maintenance
- 12.1.2.1. Mounting
- 12.1.2.2. Lubrication
- 12.1.3. Cylinder
- 12.1.3.1. Disassembly
- 12.1.3.2. Assembly
- 12.2. Fork carriage
- 12.2.1. Maintenance
- 12.3. Main lift chain system
- 12.3.1. Checking the chain setting
- 12.3.2. Chain inspection
- 12.3.2.1. Surface rust
- 12.3.2.2. Rusty links
- 12.3.2.3. Stiff links
- 12.3.2.4. Bolt rotation
- 12.3.2.5. Loose bolts
- 12.3.2.6. Outline wear
- 12.3.2.7. Stretching
- 12.3.2.8. Damaged discs
- 12.3.2.9. Damaged bolts
- 12.3.2.10. Dirty chain
- 12.3.3. Cleaning
- 12.3.4. Lubrication
- 13. Accessories – 9000
- 13.1. Automatic height adjustment HWE100/HWE100S
- 13.1.1. General
- 13.1.2. Electrical wiring diagram
- 14. Destruction instructions
- 14.1. General
- 14.2. Procedure
- 14.3. Abbreviations
- 14.4. Sorting
- 14.5. Chassis (0300)
- 14.5.1. Disassembly
- 14.5.2. Material handling
- 14.6. Hoods, hatches (0340)
- 14.6.1. Disassembly
- 14.6.2. Material handling
- 14.7. Electric Pump Motor (1710)
- 14.7.1. Disassembly
- 14.7.2. Material handling
- 14.8. Drive assembly/drive motor (1760/ 2550)
- 14.8.1. Disassembly
- 14.8.2. Material handling
- 14.9. Wheels (3500)
- 14.9.1. Disassembly
- 14.9.2. Material handling
- 14.10. Tiller arm (4110)
- 14.10.1. Disassembly
- 14.10.2. Material handling
- 14.11. General electrical equipment (5100)
- 14.11.1. Disassembly
- 14.11.2. Material handling
- 14.12. Hydraulic unit (6100)
- 14.12.1. Disassembly
- 14.12.2. Material handling
- 14.13. Hydraulic cables/cylinders (6230/ 6610)
- 14.13.1. Disassembly
- 14.13.2. Material handling
- 14.14. Main mast and fork carriage (7100)
- 14.14.1. Disassembly
- 14.14.2. Material handling
Rate this product
You may also like
BT Service Manual PDF
BT CARGE E-Series CBE 12T-20T, CBE 12F-20F Use And Maintenance Handbook 0337275R1CE
$30.00
BT Service Manual PDF
BT HL10 STD, HL10 I, HL10 X, HLE10 STD, HLE10 I, HLE10 X Operator And Service Manual 214438-003
$30.00
BT Service Manual PDF
BT CMX60, CMX80 Electric Center Riding Pallet Truck Service Manual 302825-000
$30.00
BT Service Manual PDF
BT D-G-Series CBD15, CBD18, CBD20, CBG15, CBG18, CBG20 Use And Maintenance Handbook 0337290R1CE
$30.00








