BT LST 1350-12 Operator Manual 212884-040
$20.00
- Type Of Manual: Operator Manual
- Manual ID: 212884-040
- : Operator Manual PDF
- Number of Pages: 60
- Size: 2.5MB
- Format: PDF
Category: BT Operator Manual PDF
-
Model List:
- LST 1350-12
- 1. Return To HomePage
- 2. BT LST 1350/12 LS Classic
- 2.1. Valid from serial number 579679AA-
- 2.2. Order number 212884-040
- 2.2.1. Issued 2003-04-19 ITS
- 2.2.1.1. It is important that you read this Operators Manual for your own safety
- 3. Safety regulations
- 3.1. Warning symbols
- 3.1.1. Warning levels
- 3.1.1.1. DANGER
- 3.1.1.2. WARNING
- 3.1.1.3. CAUTION
- 3.1.2. Prohibitory symbols
- 3.1.2.1. NO SMOKING
- 3.1.2.2. NAKED FLAMES PROHIBITED
- 3.1.2.3. GENERAL PROHIBITION
- 3.1.3. Ordinance symbols
- 3.1.3.1. SAFETY SHOES
- 3.1.3.2. PROTECTIVE GLASSES
- 3.2. General safety regulations
- 3.2.1. Operating the truck
- 3.2.2. Operators responsibility
- 3.2.3. Working area
- 3.2.4. Driving and conduct while driving
- 3.2.5. Handling loads
- 3.2.6. Parking the truck
- 3.2.7. Handling the battery
- 3.2.8. Maintenance and repair
- 4. Warning and information plates and symbols
- 4.1. Travel direction
- 4.2. Horn
- 4.3. Identification plate
- 4.4. Capacity plate
- 4.5. Hydraulic oil filling
- 4.6. Hydraulic control Lifting/Lowering
- 4.7. Serial number
- 4.8. Lifting capacity reduction points
- 4.9. Do not walk under an elevated load B) Do not stand on the forks
- 4.10. Lifting points
- 4.11. Modification plate
- 4.12. Risk of crushing
- 5. Presentation of the truck
- 5.1. CAUTION
- 5.2. Intended application of the truck
- 5.3. Forbidden application of the truck
- 5.4. Truck data
- 5.4.1. Truck type
- 5.4.2. LST 1350
- 5.4.3. LST 1350-8
- 5.5. Truck dimensions
- 5.6. Identification plate
- 5.7. Capacity plate
- 5.8. Modification plate
- 6. Main components
- 6.1. Tiller arm The truck can be controlled by the operator standing on the rideon platform or wa…
- 6.2. Identification plate With model designation, serial number, year of manufacture, weight witho…
- 6.3. Covers Easily opened and removable which allows good access when servicing.
- 6.4. Platform Folding rideon platform which automatically folds up when not loaded.
- 6.5. Hydraulic unit Pump motor and pump are integrated in a compact unit.
- 6.6. Hydraulic valves The valves are located to provide easy access.
- 6.7. Oil tank With integrated oil filter.
- 6.8. Drive unit with brake Suspended drive unit with two stage electromagnetic brake, drive motor,…
- 6.9. Electric panel Removable, which provides good access when servicing. 24 volt electrical suppl…
- 6.10. Support castor wheels Two support castor wheels to ensure stability. Fitted with rubber guar…
- 6.11. Instrument Combined hour meter/battery controller or hour meter only.
- 6.12. Emergency disconnector and battery connector The battery is charged via the permanently fitt…
- 6.13. Serial number Serial number plate fitted to the chassis. Partly hidden by the emergency disc…
- 6.14. Battery 24V with different Ah values.
- 6.15. Battery safety catch Security lock for the battery.
- 6.16. Hydraulic control For controlling lifting and lowering functions.
- 6.17. Mast The mast is a clear-view model.
- 6.18. Control circuit fuse 7.5 A, BT part no. 122308-075.
- 6.19. Pump motor fuse 160 A, BT part no. 29223.
- 6.20. Drive motor fuse 100 A, BT part no. 29228.
- 7. Controls and instruments
- 7.1. Travel direction selector and speed control
- 7.2. Switch for safety reversing
- 7.3. Horn
- 7.4. Tiller arm and brake
- 7.5. Emergency disconnector and battery connector
- 7.6. Control for lifting and lowering the forks
- 7.7. Key switch
- 7.8. Battery controller and hour meter
- 7.9. (Option)
- 7.10. Travel direction selector and speed control (1)
- 7.11. Switch for safety reversing (2)
- 7.12. Horn (3)
- 7.13. Tiller arm and brake (4)
- 7.14. Emergency disconnector and battery connector (5)
- 7.15. Control for lifting and lowering the forks (6)
- 7.16. Key switch (7)
- 8. Accessories
- 8.1. Overhead guard
- 8.2. Load support
- 8.3. Battery controller and hour meter
- 8.4. Control for lifting and lowering the forks (1)
- 8.5. Protective gates, EU-gates
- 8.5.1. WARNING
- 8.6. Extra braking function
- 9. Driving
- 9.1. Starting the truck
- 9.1.1. LST 1350-8
- 9.1.1.1. WARNING
- 9.1.1.2. WARNING
- 9.2. Braking
- 9.3. Deceleration
- 9.3.1. LST 1350-8
- 9.4. Steering
- 9.4.1. WARNING
- 9.5. Parking the truck
- 9.5.1. WARNING
- 10. Transporting loads
- 10.1. WARNING
- 10.2. WARNING
- 10.3. WARNING
- 10.4. WARNING
- 10.5. WARNING
- 10.6. WARNING
- 10.7. WARNING
- 10.8. Collecting a load
- 10.8.1. LST 1350-8 without protective roof
- 10.8.2. LST 1350-8 without protective roof
- 10.8.2.1. CAUTION
- 10.9. Depositing a load
- 10.9.1. LST 1350-8 without protective roof
- 10.9.2. LST 1350-8 without protective roof
- 10.9.2.1. CAUTION
- 11. Battery
- 11.1. Changing the battery
- 11.1.1. WARNING
- 11.1.2. Changing the battery without help of a battery changing table
- 11.1.2.1. Proceed as follows to remove the discharged battery
- 11.1.2.1.1. WARNING
- 11.1.2.2. Proceed as follows when replacing a charged battery
- 11.1.2.2.1. WARNING
- 11.1.2.2.2. WARNING
- 11.1.3. Changing the battery with the help of a battery changing table
- 11.1.3.1. WARNING
- 11.1.3.2. WARNING
- 11.2. Charging the battery
- 11.2.1. GENERAL PROHIBITION
- 11.2.2. Battery(Ah)
- 11.2.3. Charger (A)
- 11.2.3.1. WARNING
- 11.2.4. Before charging
- 11.2.4.1. WARNING
- 11.2.5. During charging
- 11.2.6. After charging
- 11.2.6.1. CAUTION
- 11.3. Battery maintenance
- 11.3.1. WARNING
- 11.3.2. Each week
- 11.3.3. Each month
- 11.3.3.1. Temperature C
- 11.3.3.2. Density g/cm3
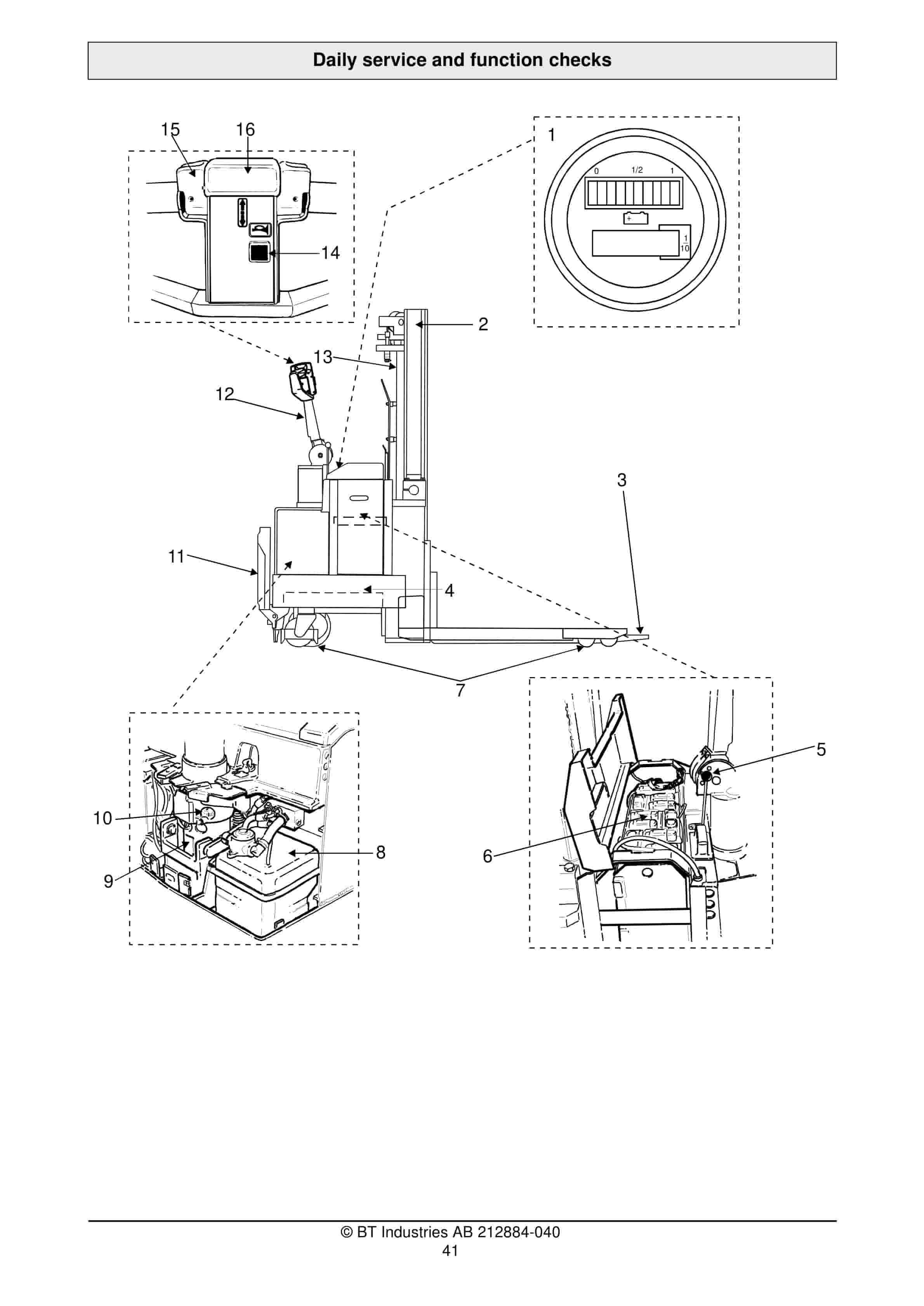
- 12. Daily service and function checks
- 12.1. WARNING
- 12.2. Check points
- 13. Maintenance
- 13.1. Safety regulations with maintenance work
- 13.1.1. WARNING
- 13.1.2. WARNING
- 13.1.3. WARNING
- 13.1.4. CAUTION
- 13.1.5. WARNING
- 13.2. Maintenance work that is to be carried out by the operator
- 13.3. Maintenance work that may be carried out by trained maintenance personnel
- 13.4. Cleaning and washing
- 13.4.1. External cleaning
- 13.4.2. Cleaning the motor compartment
- 13.4.3. Electrical components
- 13.5. Maintenance chart
- 13.5.1. Pos. no.
- 13.5.2. Work to carry out
- 13.5.2.1. Intervals in hours
- 13.5.2.2. Intervals in Days/Weeks/Months
- 13.6. Lubrication chart
- 13.6.1. Service point
- 13.6.2. Interval/Running hours
- 13.6.3. Lubricant
- 13.7. Oil and grease specification
- 13.7.1. Lubricant
- 13.7.2. Specification
- 13.7.3. Application area
- 13.7.4. > – 15C
- 13.7.5. < – 15C
- 14. Transporting and storing the truck
- 14.1. The trucks dimensions and weight as standard
- 14.1.1. The trucks dimensions and weight
- 14.2. Lifting the truck
- 14.2.1. WARNING
- 14.2.2. WARNING
- 14.3. Towing and transporting a defective truck
- 14.3.1. Trucks that have a working electrical system
- 14.3.1.1. WARNING
- 14.3.2. Truck that has no electrical power
- 14.4. Storing the truck
- 14.4.1. Battery
- 14.4.2. Hydraulic system
- 14.4.3. Drive unit
- 14.5. Starting after a period of disuse
- 15. Recycling/discarding
- 15.1. Discarding the battery
- 15.2. Scrapping the truck
- 15.2.1. Chassis
- 15.2.2. Hydraulic system
- 15.2.3. Electrical system
- 16. typ 2 bt cert gb.pdf
- 16.1. EC Declaration of Conformity
- 16.2. _____________________
Rate this product
You may also like
BT Operator Manual PDF
BT CTX1300SEi, CTX1300SEi SF, CTX H, CTX H SF Operator Manual 214294-040
$20.00
BT Operator Manual PDF
BT CMX60, CMX80 Electric Center Riding Pallet Truck Operator Manual 302823-005
$20.00
BT Operator Manual PDF
BT CSX Electric Counter Balanced Stacker Truck Operator Manual 304953-001
$20.00
BT Operator Manual PDF
BT CSX Electric Counter Balanced Stacker Truck Operator Manual 304953-002
$20.00















