BT SC-20 Counterbalanced Electric Stacker Parts And Service Manual 310668-000
$30.00
- Type Of Manual: Parts And Service Manual
- Manual ID: 310668-000
- : Parts Manual PDF
- Number of Pages: 32
- Size: 1.8MB
- Format: PDF
Category: BT Parts Manual PDF
-
Model List:
- SC-20 Counterbalanced Electric Stacker
- 1. Front Cover
- 2. Prime Mover Warranty
- 3. Contents
- 4. To New Prime-Mover Owners
- 5. Operating Instructions
- 5.1. Preliminary Service
- 5.2. Operation
- 5.2.1. Safety Interlock
- 5.2.2. Mast Controls
- 5.2.3. Direction Control
- 5.2.4. Deadman Brake
- 5.2.5. Time Delay
- 5.2.6. Key Switch (optional)
- 5.2.7. Horn (optional)
- 5.2.8. Dynamic Brake (optional)
- 5.3. Operator Maintenance
- 5.3.1. Semi-Annually (or as required)
- 5.4. Battery Care
- 6. Maintenance Instructions
- 6.1. Battery
- 6.2. Power Wiring
- 6.3. Control Wiring
- 6.4. Control Switches (Handle)
- 6.5. Mechanical Brake
- 6.6. Interlock Switch
- 6.7. Transmission Rollers
- 6.8. Contactor Points
- 6.9. Motor Commutator
- 6.10. Hydraulic System
- 7. Service Instructions
- 7.1. Transmission
- 7.2. Gear Case Reinforcing
- 7.3. Drive Motor
- 7.4. Control Panel
- 7.5. Hydraulic Pump Unit
- 7.6. Mast Assembly
- 7.7. Lift Frame
- 7.8. Inner Column
- 7.9. Tilt Cylinders
- 7.10. Hydraulic Lift Cylinder
- 7.11. Gear Case Ring
- 8. Parts Ordering Instructions
- 9. Parts List Index
- 9.1. Lift Assembly and Load Wheels
- 9.2. Transmission Assembly
- 9.3. Drive Motor and Transmission Mounting
- 9.4. Motor Service Parts
- 9.5. Gear Case Reinforcement
- 9.6. Shielding
- 9.7. Electrical Control Panel
- 9.8. Power Wiring
- 9.9. Control Handle
- 9.10. Control Wiring
- 9.11. Hydraulic Cylinder Assembly
- 9.12. Tilt Cylinder
- 9.13. Hydraulic Piping Diagram
- 9.14. Hydraulic Pump
- 9.15. Motor Service Parts
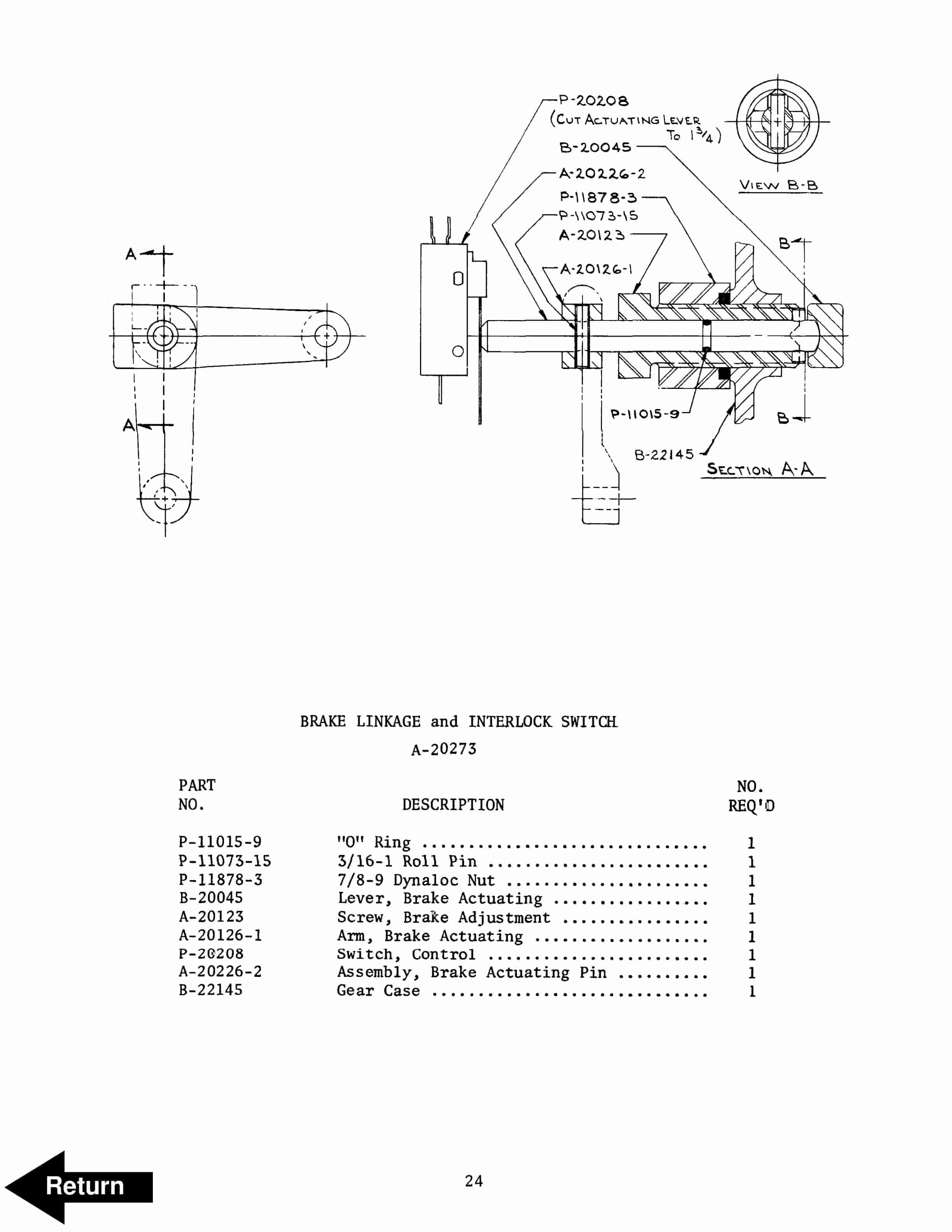
- 9.16. Brake Linkage and Interlock Switch
- 9.17. Control Switch Installation
- 9.18. Lift – Tilt Linkage
- 9.19. Control Valve
- 10. Back Cover
Rate this product
You may also like
BT Parts Manual PDF
BT 602-TT, 608-TT, 609-TT, 610-TT, 612-TT, 620-TT (AC) Quality Parts 253711
$30.00














