BT SC-20 Counterbalanced Electric Stacker Parts And Service Manual 310681-000
$30.00
- Type Of Manual: Parts And Service Manual
- Manual ID: 310681-000
- : Parts Manual PDF
- Number of Pages: 32
- Size: 1.9MB
- Format: PDF
Category: BT Parts Manual PDF
-
Model List:
- SC-20 Counterbalanced Electric Stacker
- 1. Front Cover
- 2. Prime Mover Warranty
- 3. Contents
- 4. To New Prime-Mover Owners
- 5. Operating Instructions
- 5.1. Preliminary Service
- 5.2. Operation
- 5.3. Safety Interlock
- 5.4. Mast Controls
- 5.5. Direction Control
- 5.6. Deadman Brake
- 5.7. Time Delay
- 5.8. Key Switch (optional)
- 5.9. Horn (optional)
- 5.10. Dynamic Brake (optional)
- 6. Operator Maintenance
- 7. Battery Care
- 8. Maintenance Instructions
- 8.1. Battery
- 8.2. Power Wiring
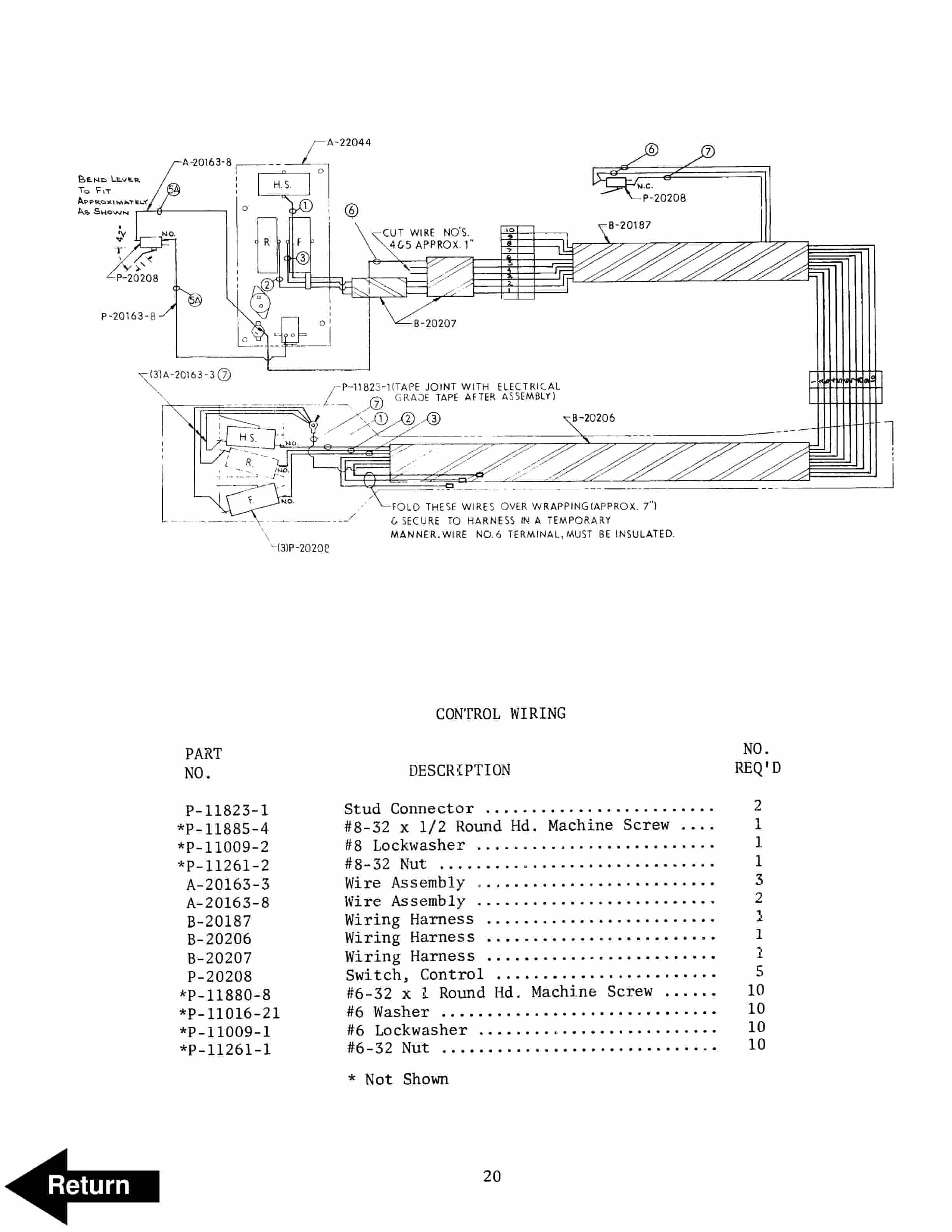
- 8.3. Control Wiring
- 8.4. Control Switches (handle)
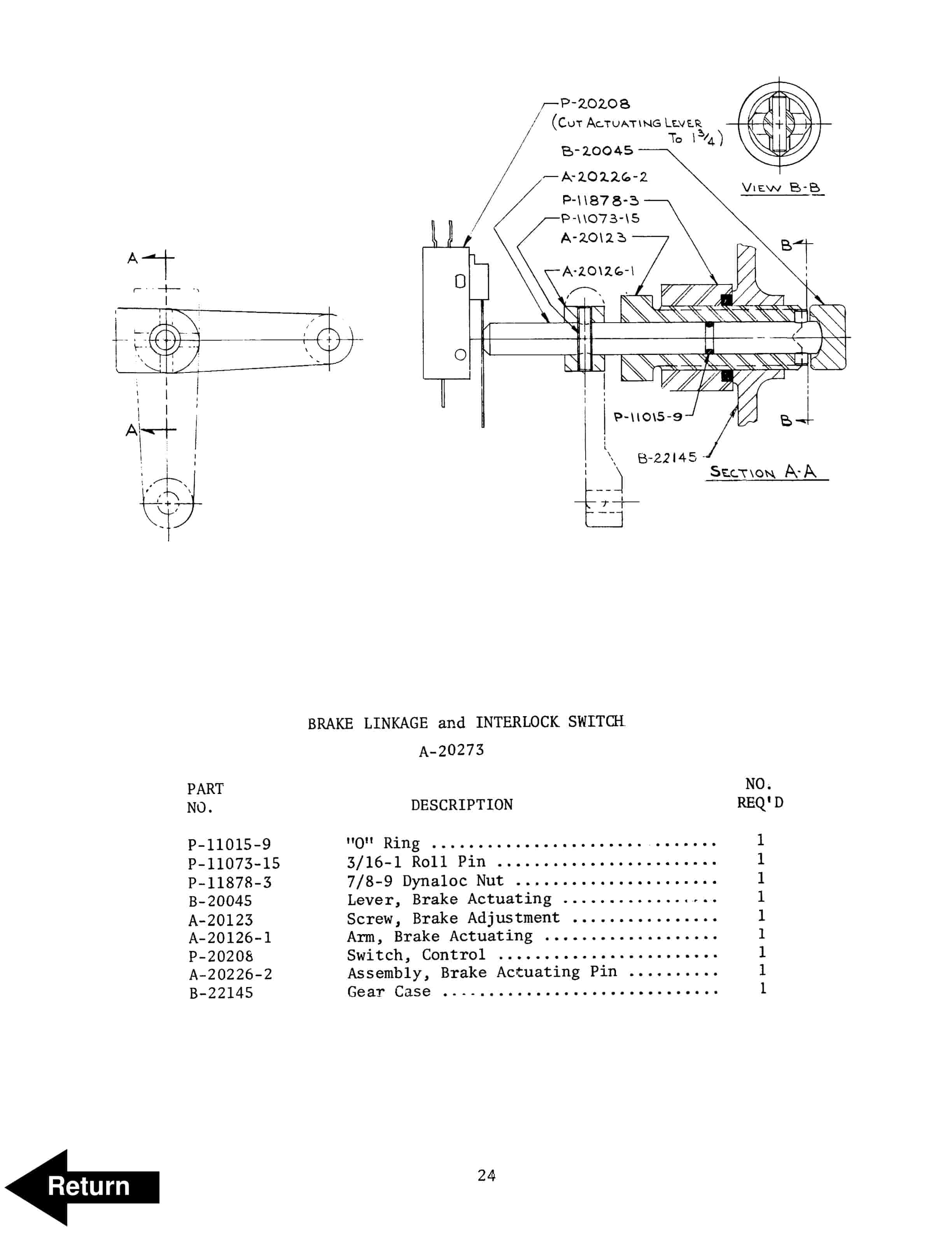
- 8.5. Mechanical Brake
- 8.6. Interlock Switch
- 8.7. Transmission Rollers
- 8.8. Contactor Points
- 8.9. Motor Commutator
- 8.10. Hydraulic System
- 9. Service Instructions
- 9.1. Transmission
- 9.2. Gear Case
- 9.3. Drive Motor
- 9.4. Control Panel
- 9.5. Hydraulic Pump Unit
- 9.6. Mast Assembly
- 9.7. Lift Frame
- 9.8. Inner Column
- 9.9. Tilt Cylinders
- 9.10. Hydraulic Lift Cylinder
- 9.11. Gear Case Ring
- 10. Parts Ordering Instructions
- 10.1. How to Order a Part
- 10.2. How Parts Orders will be Handled
- 10.3. Instructions for Returning Parts
- 11. Parts List Index
- 11.1. Transmission Assembly
- 11.2. Drive Motor and Transmission Mounting
- 11.3. Gear Case Reinforcement
- 11.4. Shielding
- 11.5. Electrical Control Panel
- 11.6. Power Wiring
- 11.7. Control Handle
- 11.8. Control Wiring
- 11.9. Hydraulic Cylinder Assembly
- 11.10. Tilt Cylinder
- 11.11. Hydraulic Piping Diagram
- 11.12. Hydraulic Pump
- 11.13. Brake Linkage and Interlock Switch
- 11.14. Control Switch Installation
- 11.15. Lift – Tilt Linkage
- 11.16. Control Valve
- 12. Service Guide
Rate this product
You may also like
BT Parts Manual PDF
BT 600-TT, 602-TT, 608-TT, 609-TT, 610-TT, 612-TT, 620-TT (AC) Quality Parts 212162
$30.00
BT Parts Manual PDF
BT BTL20EW, BTL20EWO, BTL30EW, BTL30EWO, L20BR, L20BRO, L30BR, L30BRO Quality Parts 177967
$30.00
BT Parts Manual PDF
BT 602-TT, 608-TT, 609-TT, 610-TT, 612-TT, 620-TT Quality Parts 07904570EB
$30.00














