BT SN-20 Electric Straddle Stacker Parts And Service Manual 301184-000
$30.00
- Type Of Manual: Parts And Service Manual
- Manual ID: 301184-000
- : Parts Manual PDF
- Number of Pages: 32
- Size: 5.4MB
- Format: PDF
Category: BT Parts Manual PDF
-
Model List:
- SN-20 Electric Straddle Stacker
- 1. Front Cover
- 2. Prime-Mover Warranty
- 3. Contents
- 4. To New Prime-Mover Owners
- 5. Operating Instructions
- 5.1. Preliminary Service
- 5.1.1. Safety Interlock
- 5.1.2. Lift-Lower
- 5.1.3. Direction Control
- 5.1.4. Deadman Brake
- 5.1.5. Key Switch (Optional)
- 5.1.6. Horn (Optional)
- 5.1.7. Dynamic Brake (Optional)
- 5.2. Operator Maintenance
- 5.2.1. Semi-Annually (or as required)
- 5.3. Battery Care
- 6. Maintenance Instructions
- 6.1. Battery
- 6.2. Power Wiring
- 6.3. Control Wiring
- 6.4. Control Switches (Handle)
- 6.5. Mechanical Brake
- 6.6. Interlock Switch
- 6.7. Transmission Rollers
- 6.8. Contactor Points
- 6.9. Motor Commutator
- 6.10. Hydraulic System
- 7. Service Instructions
- 7.1. Transmission
- 7.2. Drive Motor
- 7.3. Control Panel
- 7.4. Hydraulic Pump
- 7.5. Lift Frame
- 7.6. Inner Column
- 7.7. Hydraulic Cylinder
- 7.8. Gear Case Ring
- 7.9. Gear Backlash
- 8. Parts Ordering Instructions
- 8.1. How to Order a Part
- 8.2. How Parts Orders will be Handled
- 8.3. Instructions for Returning Parts
- 9. Parts List Index
- 9.1. Lift Assembly and Load Wheels
- 9.2. Transmission Assembly
- 9.3. Drive Motor and Transmission Mounting
- 9.4. Motor Service Parts
- 9.5. Shielding
- 9.6. Electrical Control Panel
- 9.7. Power Wiring
- 9.8. Control Handle
- 9.9. Control Wiring
- 9.10. Hydraulic Cylinder Assembly
- 9.11. Hydraulic Piping Diagram
- 9.12. Hydraulic Pump Parts List
- 9.13. Brake Linkage and Interlock Switch
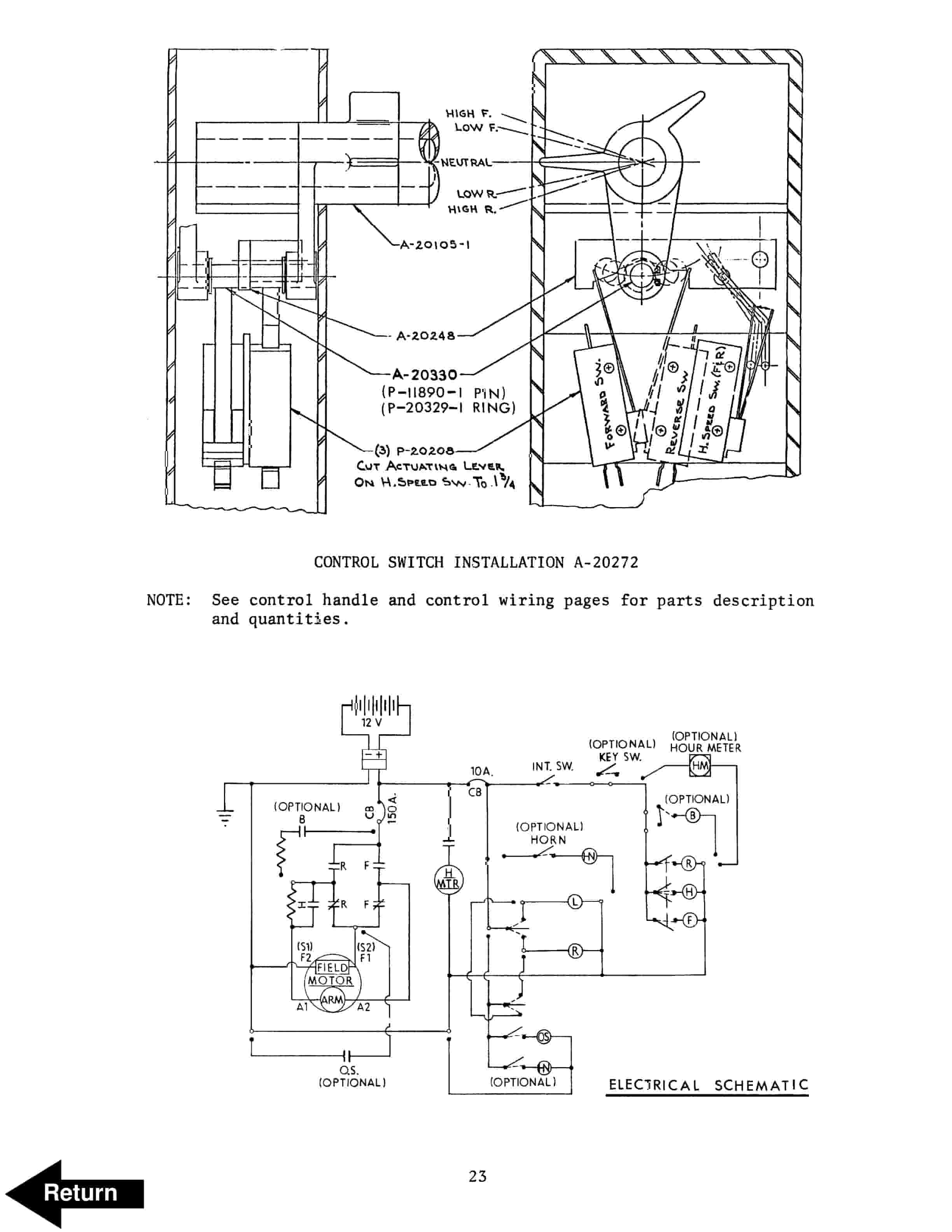
- 9.14. Control Switch Installation
- 9.15. High Speed Rider
- 9.16. Dynamic Brake (Optional)
- 9.17. Horn (Optional)
- 9.18. Wiring Diagram, Hour Meter and Key Switch (Optional)
- 10. Service Guide
- 11. Back Cover
Rate this product
You may also like
BT Parts Manual PDF
BT 602-TT, 608-TT, 609-TT, 610-TT, 612-TT, 620-TT (AC) Quality Parts 253711
$30.00
BT Parts Manual PDF
BT 602-TT, 608-TT, 609-TT, 610-TT, 612-TT, 620-TT Quality Parts 07904570EB
$30.00
BT Parts Manual PDF
BT BTL20EW, BTL20EWO, BTL30EW, BTL30EWO, L20BR, L20BRO, L30BR, L30BRO Quality Parts 177967
$30.00
BT Parts Manual PDF
BT 600-TT, 602-TT, 608-TT, 609-TT, 610-TT, 612-TT, 620-TT (AC) Quality Parts 212162
$30.00














