BT WSX-20, WSX-25 Electric Walkie Adjustable Straddle Stacker Parts Manual 304943-001
$30.00
- Type Of Manual: Parts Manual
- Manual ID: 304943-001
- : Parts Manual PDF
- Number of Pages: 140
- Size: 3.1MB
- Format: PDF
Category: BT Parts Manual PDF
-
Model List:
- WSX-20, WSX-25 Electric Walkie Adjustable Straddle Stacker
- 1. Front Cover
- 2. General Informati on
- 3. Parts Ordering Instructions
- 4. Chassis
- 4.1. Inspection, covers
- 4.2. Support / stabilization arms
- 4.3. Frame / chassis component
- 4.4. Motor fixation points
- 4.5. Driver controls (mechanical) Serial Number 295451AA000 – UP
- 4.6. Driver controls (mechanical) hand lower
- 4.7. Finger / toe guards Serial Number 329900AA000 – UP
- 4.8. Driver protection Serial Number 295451AA000 – UP
- 4.9. Decals, warnings
- 5. Motors
- 5.1. Drive motor assembly Serial Number 329901AA000 – UP
- 5.2. Pump motor assembly Serial Number 340961AA000 – UP
- 6. Transmission / Drive Gear
- 6.1. Mechanical drive gear unit Serial Number 310960AA000 – UP
- 7. Brake / Wheel System
- 7.1. Brake assembly Serial Number 340960AA000 – UP
- 7.2. Drive wheel
- 7.3. Fork / support arm wheels (load wheel)
- 8. Steering System
- 8.1. Steering arm Serial Number 329901AA000 – UP
- 8.2. Steering bearing, radial bearing
- 9. Electrical System
- 9.1. Battery (24 volt GNB battery pack)
- 9.2. Horn Serial Number 295451AA000 – UP
- 9.3. Battery cut out contactor / plug (battery connector)
- 9.4. Voltage / battery indicator
- 9.5. Hourmeter
- 9.6. Start / stop switch Serial Number 340961AA000 – UP
- 9.7. Speed control Serial Number 295451AA000 – UP
- 9.8. Control cables / harnesses Serial Number 329900AA000 – UP
- 9.9. Electrical drive motor system
- 9.10. Motor cable, resistor
- 9.11. Direction contactor Serial Number 329900AA000 – UP
- 9.12. Transistor panel
- 9.13. Micro switch Serial Number 295451AA000 – UP
- 9.14. Pump contactor
- 9.15. PCBs logic card / box
- 9.16. Safety / position / switches / sensors
- 9.17. Control cables / harnesses
- 10. Hydraulic System
- 10.1. Hydraulic unit (electric lifting)
- 10.2. Hoses and pipes, connections, fixation
- 10.3. Hoses and pipes, connection, fixation (Duplex HiLo)
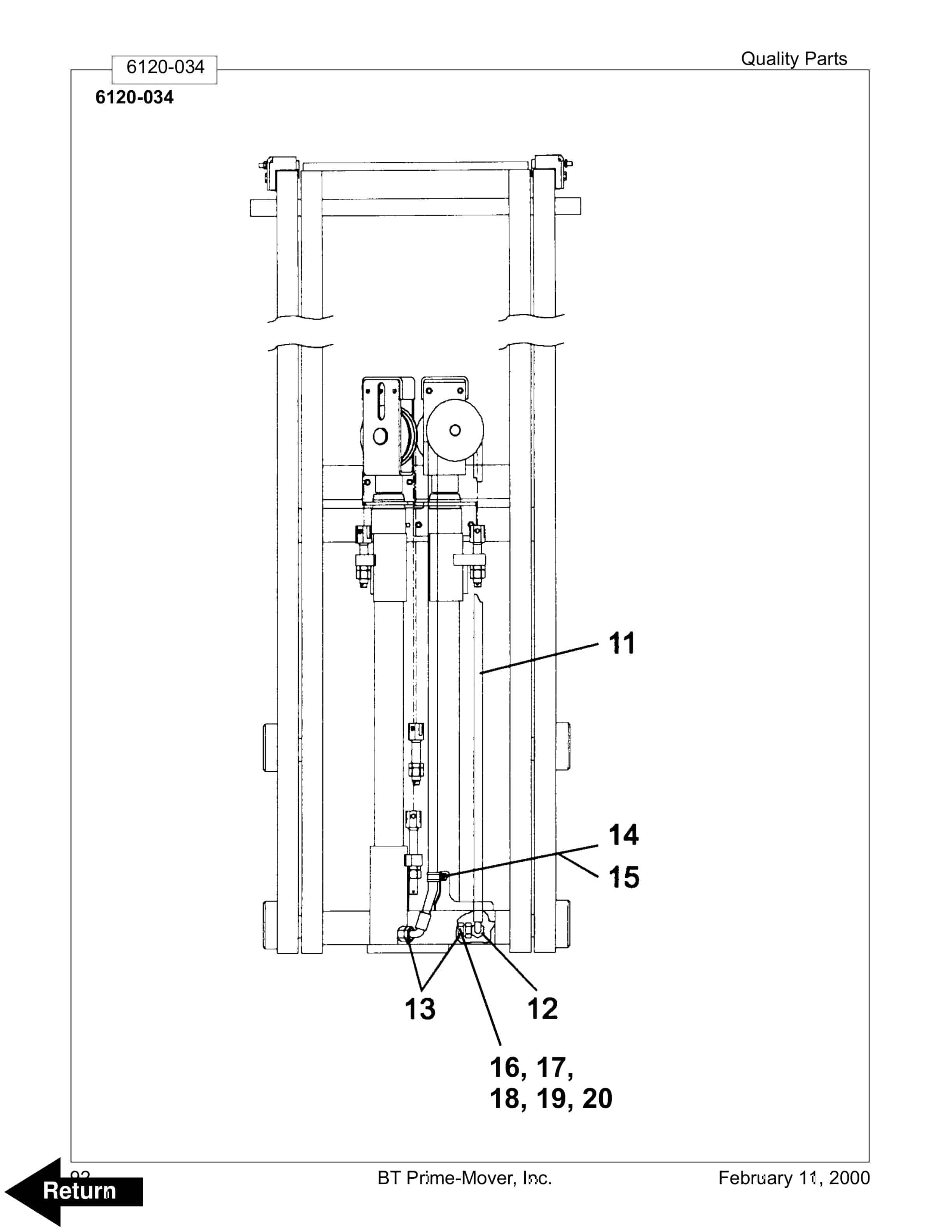
- 11. Operating Function – Lifting Device
- 11.1. Chains / yokes / rollers
- 11.2. Chain / yokes / rollers (Duplex HiLo)
- 11.3. Separate fork carriage
- 11.4. Mast guidance / dampers
- 11.5. Lift cylinder (Simplex)
- 11.6. Lift cylinder (Duplex HiLo)
- 11.7. Lift cylinder (Duplex Tele)
- 11.8. Fork assembly
- 12. Peripheral / Installation Equipment
- 12.1. Battery charger (24 volt GNB battery pack)
- 13. Options / Attachments
- 13.1. Warning lights / alarm
- 13.2. Extra mechanical equipment
- 14. Tools
- 14.1. Special tools and lubrications
- 15. Alphabetical/ Numerical Index
- 15.1. WSX20/25 Electrical Truck Alphabetical Index
- 15.2. WSX20/25 Electrical Truck Numerical Index
- 16. Back Cover
Rate this product
You may also like
BT Parts Manual PDF
BT 600-TT, 602-TT, 608-TT, 609-TT, 610-TT, 612-TT, 620-TT (AC) Quality Parts 212162
$30.00
BT Parts Manual PDF
BT 600-TT, 602-TT, 604-TT, 608-TT, 609-TT, 610-TT, 612-TT, 620-TT Quality Parts 208538
$30.00















