Caterpillar EP13TCB Parts Manual 13-P-2103-C-T
$50.00
- Type Of Manual: Parts Manual
- Book Number: 13-P-2103-C-T
- Information: CAT COUNTERBALANCED TRUCK
- Number of Pages: 366
- Size: 121.2MB
- Format: PDF
Category: Caterpillar Parts Manual PDF
-
Model List:
- EP13TCB
- 1. _01-01-01 10100A FRAME Spare Parts Catalog.pdf
- 2. _01-01-02 10100B FRAME Side loading Spare Parts Catalog.pdf
- 3. _01-01-03 10110A COVER Spare Parts Catalog.pdf
- 4. _01-01-04 10110B COVER Side loading Spare Parts Catalog.pdf
- 5. _01-01-05 10111A PANEL Spare Parts Catalog.pdf
- 6. _01-01-06 10111B PANEL Side loading Spare Parts Catalog.pdf
- 7. _01-01-07 10112A PAD FLOOR PLATE Spare Parts Catalog.pdf
- 8. _01-01-08 10112B PAD FLOOR PLATE Side loading Spare Parts Catalog.pdf
- 9. _01-01-09 10113A BATTERY COVER Spare Parts Catalog.pdf
- 10. _01-01-10 10113B BATTERY COVER Side loading Spare Parts Catalog.pdf
- 11. _01-01-11 10114 SIDE COVER Side loading Spare Parts Catalog.pdf
- 12. _01-01-12 10115 BATTERY PARTS 1 Side loading Spare Parts Catalog.pdf
- 13. _01-01-13 10116 BATTERY PARTS 2 Side loading Spare Parts Catalog.pdf
- 14. _01-01-14 10290 LAMP COVER Spare Parts Catalog.pdf
- 15. _01-01-15 10400 COUNTER BALANCE WEIGHT Spare Parts Catalog.pdf
- 16. _01-01-16 10500 SEAT Spare Parts Catalog.pdf
- 17. _01-01-17 10600 OVERHEAD GUARD Spare Parts Catalog.pdf
- 18. _01-01-18 10950A NAME PLATE FIT. Spare Parts Catalog.pdf
- 19. _01-01-19 10951A NAME PLATE Spare Parts Catalog.pdf
- 20. _01-01-20 10950B NAME PLATE FIT. Australia Spec Spare Parts Catalog.pdf
- 21. _01-01-21 10951B NAME PLATE Australia Spec Spare Parts Catalog.pdf
- 22. _01-01-22 10952 NAME PLATE FIT. SF Spare Parts Catalog.pdf
- 23. _01-01-23 10953 NAME PLATE FIT. Side loading Spare Parts Catalog.pdf
- 24. _01-01-24 10954 NAME PLATE FIT. LASER POINTER Spare Parts Catalog.pdf
- 25. _01-01-25 10963 TABLE BATTERY Side loading Spare Parts Catalog.pdf
- 26. _01-02-01 11300 FRONT AXLE 1 Spare Parts Catalog.pdf
- 27. _01-02-02 11301A1 FRONT AXLE 2 (-264E_) Spare Parts Catalog.pdf
- 28. _01-02-03 11301A2 FRONT AXLE 2 (264E_-) Spare Parts Catalog.pdf
- 29. _01-02-04 11400A FRONT WHEEL Spare Parts Catalog.pdf
- 30. _01-02-05 11400B FRONT WHEEL Snow tire Spare Parts Catalog.pdf
- 31. _01-02-06 11400C FRONT WHEEL Color tire, Cushion tire Spare Parts Catalog.pdf
- 32. _01-02-07 11500 FRONT AXLE FIT. Spare Parts Catalog.pdf
- 33. _01-02-08 12300 REAR AXLE 1 Spare Parts Catalog.pdf
- 34. _01-02-09 12301 REAR AXLE 2 Spare Parts Catalog.pdf
- 35. _01-02-10 12400A REAR WHEEL Spare Parts Catalog.pdf
- 36. _01-02-11 12400B REAR WHEEL Color tire Spare Parts Catalog.pdf
- 37. _01-03-01 13100 STEERING LINKAGE 1 STEERING WHEEL Spare Parts Catalog.pdf
- 38. _01-03-02 13101 STEERING LINKAGE 2 Spare Parts Catalog.pdf
- 39. _01-03-03 13102 STEERING LINKAGE 3 Spare Parts Catalog.pdf
- 40. _01-03-04 13103 STEERING LINKAGE 4 Spare Parts Catalog.pdf
- 41. _01-03-05 13210 FOOT BRAKE LINKAGE 1 Spare Parts Catalog.pdf
- 42. _01-03-06 13211 FOOT BRAKE LINKAGE 2 MASTER CYLINDER Spare Parts Catalog.pdf
- 43. _01-03-07 13300 PARKING BRAKE LINKAGE 1 Spare Parts Catalog.pdf
- 44. _01-03-08 13301 PARKING BRAKE LINKAGE 2 Spare Parts Catalog.pdf
- 45. _01-03-09 13400A VALVE LINKAGE 1 2 SPOOLS Spare Parts Catalog.pdf
- 46. _01-03-10 13400B VALVE LINKAGE 1 3 SPOOLS Spare Parts Catalog.pdf
- 47. _01-03-11 13400C VALVE LINKAGE 1 4 SPOOLS Spare Parts Catalog.pdf
- 48. _01-03-12 13401B VALVE LINKAGE 2 3 SPOOLS Spare Parts Catalog.pdf
- 49. _01-03-13 13401C VALVE LINKAGE 2 4 SPOOLS Spare Parts Catalog.pdf
- 50. _01-03-14 13500 ACCELERATOR LINKAGE Spare Parts Catalog.pdf
- 51. _01-03-15 13401A VALVE LINKAGE 2 2 SPOOLS Spare Parts Catalog.pdf
- 52. _01-04-01 15000A OIL TANK RESIN OIL TANK Spare Parts Catalog.pdf
- 53. _01-04-02 15000B OIL TANK IRON OIL TANK Spare Parts Catalog.pdf
- 54. _01-04-03 15100 OIL PUMP Spare Parts Catalog.pdf
- 55. _01-04-04 15200A CONTROL VALVE 2 SPOOLS Spare Parts Catalog.pdf
- 56. _01-04-05 15200B CONTROL VALVE 3 SPOOLS Spare Parts Catalog.pdf
- 57. _01-04-06 15200C CONTROL VALVE 4 SPOOLS Spare Parts Catalog.pdf
- 58. _01-04-07 15510A FRAME PIPING 2 SPOOLS Spare Parts Catalog.pdf
- 59. _01-04-08 15510B FRAME PIPING 3,4 SPOOLS Spare Parts Catalog.pdf
- 60. _01-04-09 15560 BRAKE PIPING Spare Parts Catalog.pdf
- 61. _02-05-01 20520A1 LIFT CYLINDER Pm (-264E-_) Spare Parts Catalog.pdf
- 62. _02-05-02 20520A2 LIFT CYLINDER Pm (264E-_-) Spare Parts Catalog.pdf
- 63. _02-05-03 20520B LIFT CYLINDER Pm CS_RP Spare Parts Catalog.pdf
- 64. _02-05-04 20540A TILT CYLINDER Pm (-264E00061) Spare Parts Catalog.pdf
- 65. _02-05-05 20540B TILT CYLINDER Pm (264E00062-) Spare Parts Catalog.pdf
- 66. _02-05-06 20560 MAST PIPING Pm Spare Parts Catalog.pdf
- 67. _02-05-07 20580A MAST PIPING PmSF w.o_LASER POINTER Spare Parts Catalog.pdf
- 68. _02-05-08 20580B MAST PIPING PmSF w_LASER POINTER Spare Parts Catalog.pdf
- 69. _02-05-09 20610A OUTER MAST Pm w.o_LASER POINTER Spare Parts Catalog.pdf
- 70. _02-05-10 20610B OUTER MAST Pm w_LASER POINTER Spare Parts Catalog.pdf
- 71. _02-05-11 20630 INNER MAST Pm Spare Parts Catalog.pdf
- 72. _02-05-12 20640 CHAIN WHEEL Pm Spare Parts Catalog.pdf
- 73. _02-05-13 20900 WIRING MAST Pm LASER POINTER Spare Parts Catalog.pdf
- 74. _02-06-01 21520A1 LIFT CYLINDER(1st) Mm (-264E-_) Spare Parts Catalog.pdf
- 75. _02-06-02 21520A2 LIFT CYLINDER(1st) Mm (264E-_-) Spare Parts Catalog.pdf
- 76. _02-06-03 21520B LIFT CYLINDER(1st) Mm CS_RP Spare Parts Catalog.pdf
- 77. _02-06-04 21530A1 LIFT CYLINDER(2nd) Mm (-264E-_) Spare Parts Catalog.pdf
- 78. _02-06-05 21530A2 LIFT CYLINDER(2nd) Mm (264E-_-) Spare Parts Catalog.pdf
- 79. _02-06-06 21530B LIFT CYLINDER(2nd) Mm CS_RP Spare Parts Catalog.pdf
- 80. _02-06-07 21540A TILT CYLINDER Mm (-264E00061) Spare Parts Catalog.pdf
- 81. _02-06-08 21540B TILT CYLINDER Mm (264E00062-) Spare Parts Catalog.pdf
- 82. _02-06-09 21560 MAST PIPING Mm Spare Parts Catalog.pdf
- 83. _02-06-10 21580A MAST PIPING MmSF w.o_LASER POINTER Spare Parts Catalog.pdf
- 84. _02-06-11 21580B MAST PIPING MmSF w_LASER POINTER Spare Parts Catalog.pdf
- 85. _02-06-12 21610 OUTER MAST Mm Spare Parts Catalog.pdf
- 86. _02-06-13 21620 MIDDLE MAST Mm Spare Parts Catalog.pdf
- 87. _02-06-14 21630 INNER MAST Mm Spare Parts Catalog.pdf
- 88. _02-06-15 21640 CHAIN WHEEL(MAST) Mm Spare Parts Catalog.pdf
- 89. _02-06-16 21650 CHAIN WHEEL(LIFT) Mm Spare Parts Catalog.pdf
- 90. _02-06-17 21900 WIRING MAST Mm LASER POINTER Spare Parts Catalog.pdf
- 91. _02-07-01 22520A LIFT CYLINDER(1st) Fm Spare Parts Catalog.pdf
- 92. _02-07-02 22520B LIFT CYLINDER(1st) Fm CS_RP Spare Parts Catalog.pdf
- 93. _02-07-03 22530A LIFT CYLINDER(2nd) Fm Spare Parts Catalog.pdf
- 94. _02-07-04 22530B LIFT CYLINDER(2nd) Fm CS_RP Spare Parts Catalog.pdf
- 95. _02-07-05 22540A TILT CYLINDER Fm (-264E00073) Spare Parts Catalog.pdf
- 96. _02-07-06 22540B TILT CYLINDER Fm (264E00074-) Spare Parts Catalog.pdf
- 97. _02-07-07 22560 MAST PIPING Fm Spare Parts Catalog.pdf
- 98. _02-07-08 22580A MAST PIPING FmSF w.o_LASER POINTER Spare Parts Catalog.pdf
- 99. _02-07-09 22580B MAST PIPING FmSF w_LASER POINTER Spare Parts Catalog.pdf
- 100. _02-07-10 22610 OUTER MAST Fm Spare Parts Catalog.pdf
- 101. _02-07-11 22630 INNER MAST Fm Spare Parts Catalog.pdf
- 102. _02-07-12 22640 CHAIN WHEEL Fm Spare Parts Catalog.pdf
- 103. _02-07-13 22900 WIRING MAST LASER POINTER Fm Spare Parts Catalog.pdf
- 104. _03-08-01 36200A LIFT BRACKET Pm Spare Parts Catalog.pdf
- 105. _03-08-02 36200B LIFT BRACKET Mm Spare Parts Catalog.pdf
- 106. _03-08-03 36200C LIFT BRACKET Fm Spare Parts Catalog.pdf
- 107. _03-08-04 36201A LIFT BRACKET PmSF CASCADE SF Spare Parts Catalog.pdf
- 108. _03-08-05 36201B LIFT BRACKET MmSF CASCADE SF Spare Parts Catalog.pdf
- 109. _03-08-06 36201C LIFT BRACKET FmSF CASCADE SF Spare Parts Catalog.pdf
- 110. _03-08-07 36300 FORK Spare Parts Catalog.pdf
- 111. _03-08-08 36400 BACKREST Spare Parts Catalog.pdf
- 112. _03-08-09 36500A SIDESHIFT PmSF INTEGRAL SF Spare Parts Catalog.pdf
- 113. _03-08-10 36500B SIDESHIFT MmSF INTEGRAL SF Spare Parts Catalog.pdf
- 114. _03-08-11 36500C SIDESHIFT FmSF INTEGRAL SF Spare Parts Catalog.pdf
- 115. _03-08-12 36500D SIDESHIFT PmSF CASCADE SF Spare Parts Catalog.pdf
- 116. _03-08-13 36500E SIDESHIFT MmSF CASCADE SF Spare Parts Catalog.pdf
- 117. _03-08-14 36500F SIDESHIFT FmSF CASCADE SF Spare Parts Catalog.pdf
- 118. _03-08-15 36900 SHIFT CYLINDER BOOT SF Spare Parts Catalog.pdf
- 119. _04-09-01 40710 TRACTION MOTOR Spare Parts Catalog.pdf
- 120. _04-09-02 40720 HYDRAULIC MOTOR Spare Parts Catalog.pdf
- 121. _04-09-03 40730A EPS MOTOR EIKOU Spare Parts Catalog.pdf
- 122. _04-09-04 40730B EPS MOTOR FUJII Spare Parts Catalog.pdf
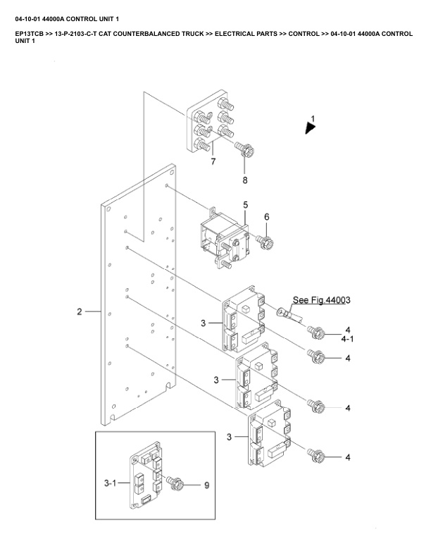
- 123. _04-10-01 44000A CONTROL UNIT 1 Spare Parts Catalog.pdf
- 124. _04-10-02 44000B CONTROL UNIT 1 Australia Spec Spare Parts Catalog.pdf
- 125. _04-10-03 44001A CONTROL UNIT 2 Spare Parts Catalog.pdf
- 126. _04-10-04 44001B CONTROL UNIT 2 Australia Spec Spare Parts Catalog.pdf
- 127. _04-10-05 44002A CONTROL UNIT 3 Spare Parts Catalog.pdf
- 128. _04-10-06 44002B CONTROL UNIT 3 Australia Spec Spare Parts Catalog.pdf
- 129. _04-10-07 44003A1 CONTROL UNIT 4 WIRE HARNESS,(-264E00147) Spare Parts Catalog.pdf
- 130. _04-10-08 44003A2 CONTROL UNIT 4 WIRE HARNESS,(264E00148-) Spare Parts Catalog.pdf
- 131. _04-10-09 44003B CONTROL UNIT 4 WIRE HARNESS, Australia Spec Spare Parts Catalog.pdf
Rate this product
You may also like















