Caterpillar GC25HP Parts Manual 98715-40050
$50.00
- Type Of Manual: Parts Manual
- Book Number: 98715-40050
- Information: CAT GASOLINE ENGINE (4G63 AND 4G64)
- Number of Pages: 160
- Size: 47.9MB
- Format: PDF
Category: Caterpillar Part Manual PDF
-
Model List:
- GC25HP
- 1. _11-01 ENGINE ASSEMBLY Spare Parts Catalog.pdf
- 2. _11-02 SHORT ENGINE ASSEMBLY Spare Parts Catalog.pdf
- 3. _11-03 ENGINE OVERHAUL GASKET KIT Spare Parts Catalog.pdf
- 4. _11-04 LIQUID GASKET Spare Parts Catalog.pdf
- 5. _11-05 ROCKER COVER Spare Parts Catalog.pdf
- 6. _11-06 CYLINDER HEAD Spare Parts Catalog.pdf
- 7. _11-07 CYLINDER BLOCK Spare Parts Catalog.pdf
- 8. _11-08 COVER, REAR PLATE, AND OIL PAN (PART-1) Spare Parts Catalog.pdf
- 9. _11-09 COVER, REAR PLATE, AND OIL PAN (PART-2) Spare Parts Catalog.pdf
- 10. _11-10 PISTON AND CRANKSHAFT Spare Parts Catalog.pdf
- 11. _11-11 CAMSHAFT AND VALVE Spare Parts Catalog.pdf
- 12. _11-12 OIL PRESS SWITCH OR GAUGE UNIT Spare Parts Catalog.pdf
- 13. _11-13 ENGINE MOUNTING AND SUPPORT Spare Parts Catalog.pdf
- 14. _12-01 OIL PUMP AND OIL FILTER Spare Parts Catalog.pdf
- 15. _13-01 FUEL PUMP Spare Parts Catalog.pdf
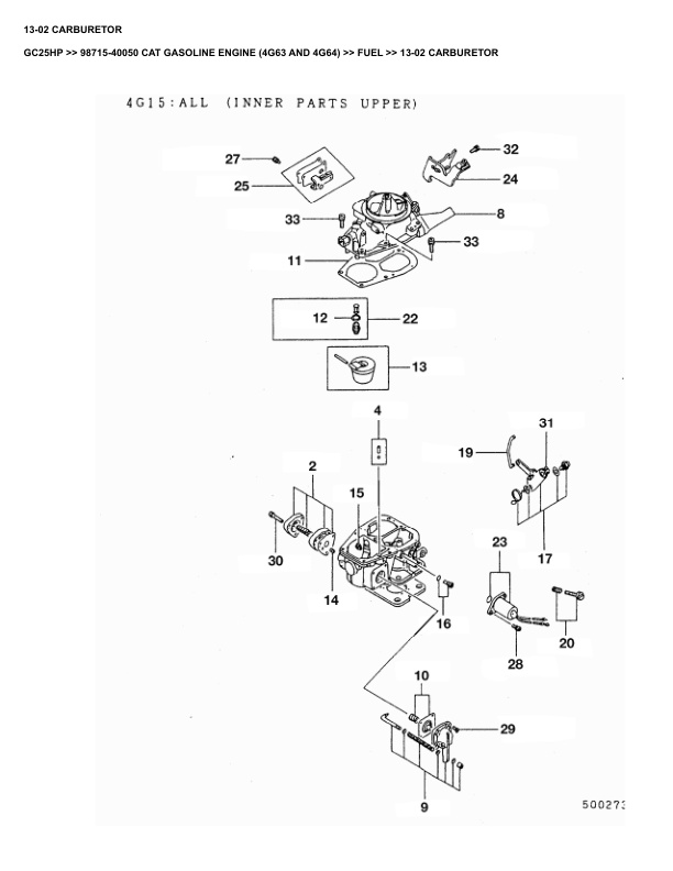
- 16. _13-02 CARBURETOR Spare Parts Catalog.pdf
- 17. _13-03 GOVERNOR Spare Parts Catalog.pdf
- 18. _14-01 WATER PUMP Spare Parts Catalog.pdf
- 19. _14-02 WATER PIPE AND THERMOSTAT Spare Parts Catalog.pdf
- 20. _15-01 INLET MANIFOLD Spare Parts Catalog.pdf
- 21. _15-02 EXHAUST MANIFOLD Spare Parts Catalog.pdf
- 22. _16-0101 STARTER (TO 1994-11) Spare Parts Catalog.pdf
- 23. _16-01 ALTERNATOR AND VACUUM PUMP 65 AMP Spare Parts Catalog.pdf
- 24. _16-02 ALTERNATOR 50 AMP Spare Parts Catalog.pdf
- 25. _16-03 DISTRIBUTOR (CLIP-DOWN CAP) Spare Parts Catalog.pdf
- 26. _16-04 DISTRIBUTOR (SCREW-DOWN CAP) Spare Parts Catalog.pdf
- 27. _16-05 DISTRIBUTOR (0404-1) Spare Parts Catalog.pdf
- 28. _16-06 SPARK PLUG, CABLE, AND COIL Spare Parts Catalog.pdf
- 29. _16-07 ELECTRICAL CONTROL Spare Parts Catalog.pdf
- 30. _16-0102 STARTER (FROM 1994-12) Spare Parts Catalog.pdf
Rate this product
You may also like















